欢迎来到知嘟嘟! 联系电话:13336804447 卖家免费入驻,海量在线求购! 卖家免费入驻,海量在线求购!
知嘟嘟
我要发布
联系电话:13336804447
知嘟嘟经纪人
收藏
专利号: 2022108156671
申请人: 陈震山
专利类型:发明专利
专利状态:授权未缴费
专利领域: 装订;图册;文件夹;特种印刷品
更新日期:2024-01-05
缴费截止日期: 暂无
价格&联系人
年费信息
委托购买

摘要:

权利要求书:

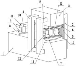
1.一种财务报表装订装置,包括底座(1),其特征在于:所述底座(1)的一端的两端分别设有第一L型支撑柱(3)与第二L型支撑柱(4)且固定连接,所述第一L型支撑柱(3)与第二L型支撑柱(4)的远离底座(1)的一端均固定连接装订箱(2),所述装订箱(2)内设有打孔机构;

所述打孔机构包括转动电机(24),所述转动电机(24)的一端固定连接装订箱(2)另一端设有转动电机轴(25),所述转动电机轴(25)的远离转动电机(24)的一端固定连接离心轴(26),所述离心轴(26)的远离转动电机轴(25)的一端固定连接旋转盘(27)的远离中心处,所述旋转盘(27)的外侧固定连接若干个均匀分布的支柱(28),所述支柱(28)的远离旋转盘(27)的一端固定连接圆环(29),所述圆环与旋转盘(27)之间滑动连接圆形滑盘(30),所述圆形滑盘(30)的远离圆环(29)我的一端固定连接杠杆(31),所述杠杆(31)的靠近圆环(29)的一端的内部穿插有支点销(32)且转动连接,所述支点销(32)的远离杠杆(31)的一端固定连接装订箱(2),所述杠杆(31)的远离支点销(32)的一端铰连接连杆(33),所述连杆(33)的远离杠杆(31)的一端铰连接吊耳(34),所述吊耳(34)的下端固定连接抬升块(35),所述抬升块(35)滑动连接装订箱(2),所述抬升块(35)内设有打孔调节机构,所述打孔调节机构的下端固定连接两个对称分布的顶针(12),所述顶针(12)的两端固定连接凸块(40),所述凸块(40)的远离顶针(12)的两端滑动连接支撑板(6),所述支撑板(6)的两端均滑动连接滑槽(5),所述滑槽(5)设在第一L型支撑柱(3)上,所述支撑板(6)的远离顶针(12)的两端均穿插有减震杆(45),所述减震杆(45)的上端固定连接限位块(15),所述减震杆(45)的下端固定连接固定板(16),所述减震杆(45)的外侧设有弹簧(13),所述弹簧(13)的上端固定连接支撑板(6),所述弹簧(13)的下端固定连接固定板(16),所述固定板(16)内设有固定板槽(14);

所述顶针(12)的下端设有装订槽(7),所述底座(1)的远离打孔机构的一端设有装订槽(7),所述装订槽(7)内设有两个对称分布的装订柱(17),所述装订柱(17)内滑动连接若干个均匀分布的装订钉(18),所述装订柱(17)的一侧滑动连接装订机构;

所述装订机构包括装订电机(41),所述装订电机(41)的一端固定连接底座(1)另一端设有装订电机轴(42),所述装订电机轴(42)的远离装订电机(41)的一端固定连接齿轮(43),所述齿轮(43)的一端啮合连接第一齿条板(9)另一端啮合连接第二齿条板(10),所述第一齿条板(9)与第二齿条板(10)均滑动连接底座(1),所述第二齿条板(10)的上端一侧固定连接挤压板(11),所述第一齿条板(9)的下端固定连接滑杆(44),所述滑杆(44)滑动连接底座(1),所述滑杆(44)的远离第一齿条板(9)的一端滑动连接装订柱(17)并固定连接推动盘(23),所述推动盘(23)滑动连接装订柱(17);

所述装订柱(17)的下端固定连接装订调节机构。

2.根据权利要求1所述的一种财务报表装订装置,其特征在于:所述打孔调节机构包括第二丝杠(36),所述第二丝杠(36)的两端均转动连接抬升块(35),所述第二丝杠(36)的一端固定连接调节电机轴(39),所述调节电机轴(39)的远离第二丝杠(36)的一端设有调节电机(38),所述调节电机(38)的外侧固定连接抬升块(35)。

3.根据权利要求2所述的一种财务报表装订装置,其特征在于:所述装订调节机构包括第一滚珠螺母(22),所述第一滚珠螺母(22)的上端固定连接装订柱(17),所述第一滚珠螺母(22)的内部穿插有第一丝杠(21),所述第一丝杠(21)的两端均转动连接底座(1),所述第一丝杠(21)的一端固定连接旋转电机轴(20),所述旋转电机轴(20)的远离第一丝杠(21)的一端设有旋转电机(19),所述旋转电机(19)的外侧固定连接底座(1)。

4.根据权利要求1所述的一种财务报表装订装置,其特征在于:所述挤压板(11)的下端设有挤压槽。

5.根据权利要求1所述的一种财务报表装订装置,其特征在于:所述推动盘(23)的直径等于装订柱(17)的内径。

6.根据权利要求1所述的一种财务报表装订装置,其特征在于:所述装订钉(18)的直径要等于顶针(12)的直径。

7.根据权利要求3所述的一种财务报表装订装置,其特征在于:所述旋转电机(19)、转动电机(24)、调节电机(38)、与装订电机(41)的启停均由遥控器控制。

8.根据权利要求3所述的一种财务报表装订装置,其特征在于:所述第一丝杠(21)与第二丝杠(36)均为双向丝杠。

9.根据权利要求1‑8任一所述的一种财务报表装订装置的装订方法,其特征在于:其步骤是:

步骤一:调节打孔距离,使用者可以把财务报表放在装订槽(7)上并对准所需打孔位置,然后通过遥控器开启调节电机(38),调节电机(38)带动调节电机轴(39)转动,调节电机轴(39)转动带动第二丝杠(36)转动,第二丝杠(36)转动带动两个对称分布的第二滚珠螺母(37)向内外移动,两个对称分布的第二滚珠螺母(37)向内外移动带动顶针(12)向内外移动,顶针(12)向内外移动可以调节打孔距离,完成打孔调节机构功能;

步骤二:打孔,使用者通过遥控器开启转动电机(24)带动抬升块(35)向下移动,抬升块(35)向下移动带动顶针(12)向下移动从而把财务报表进行打孔,转动电机(24)带动转动电机轴(25)转动,转动电机轴(25)转动带动离心轴(26)转动,离心轴(26)转动带动旋转盘(27)转动,旋转盘(27)转动带动支柱(28)转动,支柱(28)转动带动圆环(29)转动,圆环(29)转动带动圆形滑盘(30)向上移动,圆形滑盘(30)向上移动带动杠杆(31)的靠近圆环(29)的一端向上移动,杠杆(31)的靠近圆环(29)的一端向上移动带动另一端向下移动,另一端向下移动带动连杆(33)向下移动,连杆(33)向下移动带动抬升块(35)向下移动,抬升块(35)向下移动带动顶针(12)向下移动,顶针(12)向下移动可以对财务报表进行打孔,完成打孔机构功能;

步骤三:调整装订距离,先把打孔后的财务报表移动放在装订槽(7)上并与打的孔对齐,再通过遥控器开启旋转电机(19)带动旋转电机轴(20)转动,旋转电机轴(20)转动带动第一丝杠(21)转动,第一丝杠(21)转动带动两个对称分布的第一滚珠螺母(22)向外内外移动,两个对称分布的第一滚珠螺母(22)向外内外移动带动装订柱(17)向内外侧移动,可以调节装订距离,实现装订调节机构功能;

步骤四:装订,使用者通过遥控器开启装订电机(41)分别带动装订钉(18)向上移动,以及挤压板(11)向下移动,并且挤压板(11)下降的速度要小于装订钉(18)的上升速度可以使装订钉(18)钉在财务报表上,装订电机(41)带动装订电机轴(42)转动,装订电机轴(42)转动带动齿轮(43)转动,齿轮(43)转动分别带动第一齿条板(9)向上移动以及第二齿条板(10)向下移动,第一齿条板(9)向上移动带动滑杆(44)向上移动,滑杆(44)向上移动带动推动盘(23)向上移动,推动盘(23)向上移动带动装订钉(18)向上移动,第二齿条板(10)向下移动带动挤压板(11)向下移动,装订钉(18)向上移动并且挤压板(11)向下移动会使装订钉(18)钉在财务报表上,完成装订机构功能。