欢迎来到知嘟嘟! 联系电话:13336804447 卖家免费入驻,海量在线求购! 卖家免费入驻,海量在线求购!
知嘟嘟
我要发布
联系电话:13336804447
知嘟嘟经纪人
收藏
专利号: 2022106935799
申请人: 桂林理工大学
专利类型:发明专利
专利状态:已下证
专利领域: 测量;测试
更新日期:2023-12-11
缴费截止日期: 暂无
价格&联系人
年费信息
委托购买

摘要:

权利要求书:

1.无人船载水深探测激光雷达杂散光抑制装置,其特征在于包括光学系统组件和光学系统组件支撑结构,所述光学系统组件支撑结构包括第一物镜筒、第二物镜筒、分光镜筒、第一目镜筒a、第一目镜筒b、第二目镜筒a、第二目镜筒b、PMT探测器a、PMT探测器b、分光镜支撑结构;其特征还在于极小视场角光学系统杂散光抑制;其特征还在于包括无人船载水深探测激光雷达杂散光抑制装置组成和工作流程;

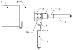
所述无人船载水深探测激光雷达杂散光抑制装置组成,包括第一物镜筒(1),所述第一物镜筒(1)一端连接第二物镜筒(2),所述第二物镜筒(2)前端包裹住第一物镜筒(1),后端与分光镜筒(3)相连接,所述分光镜筒(3)前端与第二物镜筒(2)相连接,后端与侧端分别连接第一目镜筒a(4)与第一目镜筒b(5),且上端链接分光镜支撑结构(10),所述第一目镜筒a(4)前端与分光镜筒(3)相连接,后端连接第二目镜筒a(6),所述第二目镜筒a(6)前段包裹第一目镜筒a(4),后端连接PMT探测器a(8),所述第二目镜筒b(7)前段包裹第一目镜筒b(5),后端连接PMT探测器b(9);

所述无人船载水深探测激光雷达杂散光抑制装置的工作流程,激光进入水体,经水面、水底反射后进入光学系统,进入第一物镜筒(1)穿过物镜,然后又穿过第二物镜筒(2)进入分光镜筒(3),然后光线照射至分光镜,由分光镜分开一路光束进入分光镜筒(3)后端进入第一目镜筒a(4)穿过第一目镜与滤光片,进入第二目镜筒a(6)穿过第二目镜后抵达PMT探测器a(8)探测面,另一束进入分光镜筒(3)侧面进入第一目镜筒b(5)穿过第一目镜与滤光片,进入第二目镜筒b(7)穿过第二目镜后抵达PMT探测器b(9)探测面,完成水深探测。

2.根据权利要求1所述的无人船载水深探测激光雷达杂散光抑制装置,其特征在于,所述的无人船载水深探测激光雷达杂散光抑制装置组成和工作流程如下:所述第一物镜筒(1)内壁存在第一挡板叶片组(101),所述第一挡板叶片组(101)边缘呈45°外倾斜尺寸递增;

所述第二物镜筒(2)内壁存在第二挡板叶片组(201),所述第二挡板叶片组(201)边缘呈45°外倾斜尺寸递增;

所述分光镜筒(3)前端存在沟槽型叶片(301),后端存在第一消光螺纹(302),侧面存在第二消光螺纹(303),所述沟槽型叶片(301)边缘分别为内外倾斜的斜面。

3.根据权利要求1所述的无人船载水深探测激光雷达杂散光抑制装置,其特征在于,该装置工作原理为:

为了抑制经过水表面折射的太阳光以及水体散射、漫反射的激光所产生的杂散光,按照实际个角度光线追迹,设计第一物镜筒(1)、第二物镜筒(2)和分光镜筒(3)实现极小视场下透射式光学系统的杂散光抑制;

其中在第一挡板叶片组(101)、第二挡板叶片组(201)和沟槽型叶片(301)组合作用下抑制了一阶、二阶与三阶散射光路传播的杂散光,第一消光螺纹(302)和第二消光螺纹(303)进一步抑制了逃逸至后续光路的杂散光,有效抑制了进入PMT探测面的杂散光,减小对水体探测干扰。