欢迎来到知嘟嘟! 联系电话:13336804447 卖家免费入驻,海量在线求购! 卖家免费入驻,海量在线求购!
知嘟嘟
我要发布
联系电话:13336804447
知嘟嘟经纪人
收藏
专利号: 2022106594811
申请人: 山东科技大学
专利类型:发明专利
专利状态:已下证
专利领域: 计算;推算;计数
更新日期:2023-12-11
缴费截止日期: 暂无
价格&联系人
年费信息
委托购买

摘要:

权利要求书:

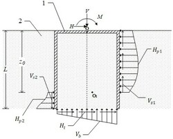
1.一种复合受荷吸力式基础的水平极限承载力计算方法,其特征在于,该计算方法包括以下步骤:(1)获得吸力式基础的基础参数和土体参数,所述基础参数包括长度 、直径 、顶盖厚度、侧壁厚度 、密度 ,所述土体参数包括有效单位重度 、内摩擦角 ,获得吸力式基础‑土体摩擦系数 ;

(2)获得已知的吸力式基础外部载荷的复合荷载参数,所述的复合荷载参数包括竖向载荷 、水平载荷 和弯矩 ;

(3)基于 曲线方法,计算吸力式基础的单位长度水平土抗力 ;

(4)根据步骤(1)‑(3)中的所述基础参数、土体参数、复合荷载参数以及单位长度水平土抗力,计算吸力式基础的承受的其他抗力;

(5)根据吸力式基础的承受的抗力,建立竖向力、水平力和弯矩平衡方程,计算某一转动中心深度处的吸力式基础的水平极限承载力 和极限弯矩 ;

(6)获得多个转动中心深度处的水平极限承载力 和极限弯矩 ,根据所述水平极限承载力 和极限弯矩 拟合绘制 包络线,得到第一 线性表达式;

(7)计算水平荷载偏心距 ,根据所述水平荷载偏心距 得到第二 线性表达式;

(8)对第一 线性表达式和第二 线性表达式联立求解,得到吸力式基础的水平极限承载力 、极限弯矩 ;

(9)计算吸力式基础的安全系数 。

2.根据权利要求1所述的一种复合受荷吸力式基础的水平极限承载力计算方法,其特征在于,土体为砂土的情况下,所述步骤(3)中,计算吸力式基础的单位长度水平土抗力具体为:(31)根据 曲线方法,确定砂土的水平向土抗力系数 、 ;

(32)计算吸力式基础的单位长度水平土抗力 的公式为:;

其中,为直径, 为土体深度, 为有效单位重度;

所述步骤(5)中,根据基础竖向力、水平力的平衡方程,计算吸力式基础的水平极限承载力 具体为:;

其中, 为水密度, 为吸力式基础的转动中心深度;

根据基础顶面中心处弯矩的平衡方程,极限弯矩 具体为:;

或者,土体为黏土的情况下,所述步骤(3)中,计算吸力式基础的单位长度水平土抗力具体为:;

其中, 为常量, 为黏土的不排水抗剪强度;

所述步骤(5)中,根据基础竖向力、水平力的平衡方程,吸力式基础的水平极限承载力具体为:;

根据基础顶面中心处弯矩的平衡方程,极限弯矩 具体为:。

3.根据权利要求2所述的一种复合受荷吸力式基础的水平极限承载力计算方法,其特征在于,所述步骤(5)中,根据所述步骤(4)中解得的吸力式基础的承受的其他抗力,建立竖向力、水平力和弯矩平衡方程具体为:由竖向力平衡建立吸力式基础竖向力的平衡方程:;

其中, 为内部土体的浮重, 为前侧的水平向土抗力 产生的前侧竖向摩擦力,为后侧的水平向土抗力 产生的后侧竖向摩擦力, 为底部承受的竖向反力;

由水平力平衡建立吸力式基础水平力的平衡方程:;

其中, 为前侧的水平向土抗力, 为后侧的水平向土抗力, 为底部的水平向摩擦力;

由顶面中心弯矩平衡建立吸力式基础顶面中心点处弯矩的平衡方程:;

其中, 为前侧水平向土抗力 相对于基础顶部中心点的第一弯矩, 为后侧的水平土抗力 相对于基础顶部中心点的第二弯矩, 为前侧竖向摩擦力 相对于基础顶部中心点的第三弯矩, 为竖向摩擦力 相对于基础顶部中心点的第四弯矩, 为水平向摩擦力 相对于基础顶部中心点的第五弯矩, 为竖向反力 相对于基础顶部中心点的第六弯矩。

4.根据权利要求1所述的一种复合受荷吸力式基础的水平极限承载力计算方法,其特征在于,所述步骤(6)中,所述转动中心深度 ,其中,为转动中心的深度系数,,根据深度系数 的不同取值,以获得多个转动中心深度处的水平极限承载力 和极限弯矩 。

5.根据权利要求1所述的一种复合受荷吸力式基础的水平极限承载力计算方法,其特征在于,水平荷载偏心距 具体为:。

6.根据权利要求1所述的一种复合受荷吸力式基础的水平极限承载力计算方法,其特征在于,所述步骤(9)中,计算吸力式基础的安全系数具体为:;