欢迎来到知嘟嘟! 联系电话:13336804447 卖家免费入驻,海量在线求购! 卖家免费入驻,海量在线求购!
知嘟嘟
我要发布
联系电话:13336804447
知嘟嘟经纪人
收藏
专利号: 2022102191915
申请人: 广州市绵绵科技有限公司
专利类型:发明专利
专利状态:已下证
专利领域: 船舶或其他水上船只;与船有关的设备
更新日期:2024-11-27
缴费截止日期: 暂无
价格&联系人
年费信息
委托购买

摘要:

权利要求书:

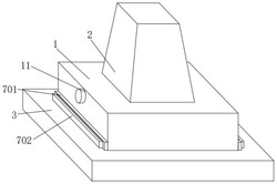
1.一种海洋生态自动监测浮标装置,包括壳体(1)和机体(2),所述壳体(1)的顶部安装有机体(2),其特征在于:所述壳体(1)的内壁设有防侧翻机构(7);

所述防侧翻机构(7)包括套筒(701)、框体(702)、气囊(703)、滑套(704)和滑杆(705);

两个所述套筒(701)分别固接于壳体(1)的内壁两端,两个所述套筒(701)的外壁贯穿壳体(1)的内壁并延伸至壳体(1)的外壁,两个所述套筒(701)的内壁均间隙配合有框体(702),两个所述框体(702)的外壁均与壳体(1)的内壁间隙配合,两个所述框体(702)的内壁均固接有多个气囊(703),两个所述框体(702)的顶部均固接有滑套(704),两个所述滑套(704)的外壁均与壳体(1)的内壁间隙配合,两个所述滑套(704)的内壁滑动相连有滑杆(705),所述滑杆(705)的外壁两端分别与壳体(1)的内壁两端固接在一起。

2.根据权利要求1所述的一种海洋生态自动监测浮标装置,其特征在于:所述壳体(1)的外壁固接有气垫(3),所述气垫(3)的外壁底部加工有通口(4)。

3.根据权利要求1所述的一种海洋生态自动监测浮标装置,其特征在于:所述滑杆(705)的外壁两端均间隙配合有两个弹簧(5),所述弹簧(5)的外壁一端与壳体(1)的内壁固接在一起,所述弹簧(5)的外壁另一端固接于滑套(704)的外壁。

4.根据权利要求1所述的一种海洋生态自动监测浮标装置,其特征在于:所述壳体(1)的内壁设有调节机构(8);

所述调节机构(8)包括双头螺杆(801)、螺纹套(802)、第一绳体(803)和槽轮(804);

所述双头螺杆(801)通过轴承与壳体(1)转动相连,所述双头螺杆(801)的外壁两端均螺纹相连有螺纹套(802),两个所述螺纹套(802)的外壁均与壳体(1)的内壁间隙配合,两个所述螺纹套(802)均通过连接轴转动相连有第一绳体(803),两个所述第一绳体(803)的外壁均活动相连有槽轮(804),两个所述槽轮(804)均通过连接轴与壳体(1)的内壁转动相连,两个所述第一绳体(803)分别通过连接轴与两个滑套(704)转动相连。

5.根据权利要求1所述的一种海洋生态自动监测浮标装置,其特征在于:所述壳体(1)的内壁顶部固接有滑槽(6),所述滑槽(6)的内壁滑动相连有两个滑块(10),两个所述滑块(10)的外壁底部分别与两个螺纹套(802)的外壁顶部固接在一起。

6.根据权利要求1所述的一种海洋生态自动监测浮标装置,其特征在于:所述壳体(1)的内壁顶部固接有支撑座(12),所述支撑座(12)的内壁与双头螺杆(801)的外壁间隙配合,所述双头螺杆(801)通过轴承与支撑座(12)转动相连。

7.根据权利要求4所述的一种海洋生态自动监测浮标装置,其特征在于:所述双头螺杆(801)的外壁一端固接有手柄(11)。

8.根据权利要求1所述的一种海洋生态自动监测浮标装置,其特征在于:所述壳体(1)的底部设有配重机构(9);

所述配重机构(9)包括弧形杆(901)、横杆(902)、螺栓(903)、环体(904)、第二绳体(905)和锚体(906);

两个所述弧形杆(901)均通过连接轴与壳体(1)转动相连,两个所述弧形杆(901)的外壁一端相贴合,两个所述弧形杆(901)的外壁一端均固接有横杆(902),两个所述弧形杆(901)和横杆(902)均与通口(4)的内壁间隙配合,所述横杆(902)的内壁螺纹相连有螺栓(903),两个所述螺栓(903)的顶部均与壳体(1)的底部相贴合,两个所述弧形杆(901)的外壁间隙配合有环体(904),所述环体(904)的底部固接有第二绳体(905),所述第二绳体(905)的底部固接有锚体(906)。