欢迎来到知嘟嘟! 联系电话:13336804447 卖家免费入驻,海量在线求购! 卖家免费入驻,海量在线求购!
知嘟嘟
我要发布
联系电话:13336804447
知嘟嘟经纪人
收藏
专利号: 2021230511571
申请人: 辽宁鑫凯精工集团有限公司
专利类型:实用新型
专利状态:已下证
专利领域: 手动切割工具;切割;切断
更新日期:2025-09-28
缴费截止日期: 暂无
价格&联系人
年费信息
委托购买

摘要:

权利要求书:

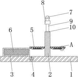
1.一种防切手切菜机,包括固定底板(1)和切菜板框(3),其特征在于,所述固定底板(1)顶面对称开设有第二滑槽(25),所述切菜板框(3)底面对称安装有第二滑块(20),且第二滑块(20)卡嵌在第二滑槽(25)内,所述固定底板(1)侧面安装有轴承(16),且轴承(16)内安装有转动轴(17),并且转动轴(17)一端固定连接有手摇轮(4),所述转动轴(17)位于固定底板(1)内腔部分安装有齿轮(18),所述切菜板框(3)底面安装有齿板(19),且齿板(19)与齿轮(18)相互啮合。

2.根据权利要求1所述的一种防切手切菜机,其特征在于,所述固定底板(1)顶面安装有安装架(2),且安装架(2)顶面安装对称安装有套筒(10),两个所述套筒(10)内安装有连接杆(9),且连接杆(9)顶端固定连接连接板(8)底面,并且连接板(8)顶面安装有把手(7),所述连接杆(9)底端固定连接有刀座(11),且刀座(11)内安装有切菜刀具(15)。

3.根据权利要求2所述的一种防切手切菜机,其特征在于,所述刀座(11)顶面与安装架(2)内侧底面之间连接安装有若干个复位弹簧(14),所述刀座(11)两侧对称安装有第一滑块(12),所述安装架(2)内侧侧面对称开设有第一滑槽(13),且第一滑槽(13)内卡嵌有第一滑块(12)。

4.根据权利要求2所述的一种防切手切菜机,其特征在于,所述安装架(2)两侧侧面对称安装有防护板(5),且防护板(5)底面均匀连接有若干个抵紧弹簧(23)一端,并且抵紧弹簧(23)另一端连接压菜板(24)顶面。

5.根据权利要求4所述的一种防切手切菜机,其特征在于,所述切菜板框(3)两侧侧面顶端对称开设有第三滑槽(21),所述防护板(5)底面两侧对称安装有第三滑块(22),且第三滑块(22)卡嵌在第三滑槽(21)内。

6.根据权利要求1所述的一种防切手切菜机,其特征在于,所述切菜板框(3)两侧侧面对称安装有滤水网(6)。

7.根据权利要求1所述的一种防切手切菜机,其特征在于,所述切菜板框(3)内侧宽度大于切菜刀具(15)宽度。