欢迎来到知嘟嘟! 联系电话:13336804447 卖家免费入驻,海量在线求购! 卖家免费入驻,海量在线求购!
知嘟嘟
我要发布
联系电话:13336804447
知嘟嘟经纪人
收藏
专利号: 2021228709809
申请人: 西华大学
专利类型:实用新型
专利状态:已下证
专利领域: 测量;测试
更新日期:2023-09-07
缴费截止日期: 暂无
价格&联系人
年费信息
委托购买

摘要:

权利要求书:

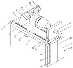
1.一种线轮廓度误差检测装置,其特征在于:包括台面(1)和百分表(14),所述台面(1)的上表面中心位置开设有活动槽(5),所述活动槽(5)的上部分别滑动连接有第一夹板(2)和第二夹板(4),所述第一夹板(2)的一侧安装有电机(3),所述第二夹板(4)的底部与活动槽(5)之间设有夹紧丝杆(6),所述第一夹板(2)和第二夹板(4)的相对面中心位置均转动连接有夹头(7),所述台面(1)与百分表(14)之间设有支撑结构(8),所述台面(1)的一侧设有扩展结构(18)。

2.根据权利要求1所述的一种线轮廓度误差检测装置,其特征在于:所述支撑结构(8)包括由支撑板(9)、通槽(10)、调节座(11)、锁紧螺栓(12)、滑座(13)、滑槽(15)、传动丝杆(16)、马达(17)和T型槽(29),所述通槽(10)开设在支撑板(9)的中心位置,所述调节座(11)通过通槽(10)与支撑板(9)滑动连接,所述锁紧螺栓(12)贯穿通槽(10)与调节座(11)螺纹连接,所述T型槽(29)开设在调节座(11)的上表面,所述滑座(13)与T型槽(29)滑动连接,所述滑槽(15)开设在台面(1)的上表面边缘位置,所述支撑板(9)通过滑槽(15)与台面(1)滑动连接,所述传动丝杆(16)贯穿支撑板(9)活动连接在滑槽(15)的内部,所述马达(17)固定连接在台面(1)的另一侧,所述百分表(14)安装在滑座(13)的前部。

3.根据权利要求2所述的一种线轮廓度误差检测装置,其特征在于:所述支撑板(9)与滑槽(15)之间设有螺座,所述传动丝杆(16)与螺座螺纹连接,所述马达(17)的输出轴与传动丝杆(16)固定连接。

4.根据权利要求2所述的一种线轮廓度误差检测装置,其特征在于:所述滑座(13)的上部贯穿由紧固螺栓,所述第一夹板(2)与活动槽(5)之间活动块,活动块的上部同样贯穿有紧固螺栓。

5.根据权利要求1所述的一种线轮廓度误差检测装置,其特征在于:所述扩展结构(18)包括由扩展板(19)、扩展槽(20)、调节槽(21)、限位座(22)、对接槽(23)、对接丝杆(24)、弹簧座(25)、六角杆(26)、六角槽(27)、连接弹簧(28)、第一支撑槽(30)、第二支撑槽(31)和支撑杆(32),所述扩展板(19)活动连接在台面(1)的一侧,所述扩展槽(20)开设在扩展板(19)的上表面中心位置,所述调节槽(21)开设在第一夹板(2)的后表面,所述限位座(22)与调节槽(21)滑动连接,所述对接槽(23)开设在扩展板(19)的上表面靠近后部位置,所述弹簧座(25)固定安装在对接槽(23)的内部,所述对接丝杆(24)与弹簧座(25)转动连接,所述六角杆(26)固定连接在传动丝杆(16)的另一端,所述六角槽(27)开设在对接丝杆(24)的一端表面,所述连接弹簧(28)设置在弹簧座(25)的内部,所述第一支撑槽(30)开设在台面(1)的下表面,所述第二支撑槽(31)开设在扩展板(19)的下表面,所述支撑杆(32)滑动连接在第一支撑槽(30)的内侧。

6.根据权利要求5所述的一种线轮廓度误差检测装置,其特征在于:所述限位座(22)的后部中心位置贯穿有固定螺栓,所述限位座(22)与传动丝杆(16)之间设有通孔。

7.根据权利要求5所述的一种线轮廓度误差检测装置,其特征在于:所述扩展槽(20)与活动槽(5)对应,所述对接槽(23)与滑槽(15)对应,所述第一支撑槽(30)与第二支撑槽(31)对应。