欢迎来到知嘟嘟! 联系电话:13336804447 卖家免费入驻,海量在线求购! 卖家免费入驻,海量在线求购!
知嘟嘟
我要发布
联系电话:13336804447
知嘟嘟经纪人
收藏
专利号: 2021228430877
申请人: 湖州师范学院
专利类型:实用新型
专利状态:已下证
专利领域: 教育;密码术;显示;广告;印鉴
更新日期:2023-08-24
缴费截止日期: 暂无
价格&联系人
年费信息
委托购买

摘要:

权利要求书:

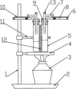
1.一种适于课堂教学的比热演示实验装置,其特征在于,包括气体温度计及支架部分;

所述的气体温度计包括试管(5)、橡胶套(6)、弯管(7)、液柱(8)、长胶塞(9)、刻度尺(10)、胶盖(13);

所述的试管(5)为平底玻璃管,上面用长胶塞(9)塞严,长胶塞(9)中心孔内插入弯管(7);

所述的弯管(7)的竖直管部分下端插入长胶塞(9)探入试管(5)内,上端管口处用胶盖(13)盖严,在上端管口处的下端向下经过一段转折后向外侧水平伸出20cm以上,并在该水平部分注入一段红色液柱(8),在弯管(7)的上部固定刻度尺(10),刻度尺(10)的尺身与弯管(7)的水平部分平行;

所述的弯管(7)的外端部玻璃管孔中塞入橡胶套(6),橡胶套(6)的中心轴向孔使得弯管(7)内部和大气相连通;

所述的长胶塞(9)可以塞入试管(5)内的圆柱体部分长度为1cm以上,且圆柱体的任一截面均可将试管(5)封闭塞严;

所述的支架部分包括台面(2)上插入长杆形支架(1),支架(1)上端固定双管夹(11),双管夹(11)为双试管孔夹,每个孔内插入一个由试管(5)构成的气体温度计,两个气体温度计呈对称结构;

所述的双管夹(11)的双孔之间插入绝热垫(12),并由螺钉(14)将双管夹(11)及双管夹内的试管(5)固紧。

2.根据权利要求1所述的一种适于课堂教学的比热演示实验装置,其特征在于,所述的支架(1)下端的托架上固定安装石棉垫(4),石棉垫(4)上端面托住试管(5)的底部。

3.根据权利要求1所述的一种适于课堂教学的比热演示实验装置,其特征在于,所述的台面(2)上放置酒精灯。