欢迎来到知嘟嘟! 联系电话:13336804447 卖家免费入驻,海量在线求购! 卖家免费入驻,海量在线求购!
知嘟嘟
我要发布
联系电话:13336804447
知嘟嘟经纪人
收藏
专利号: 2021227984692
申请人: 深圳市兴皓电子有限公司
专利类型:实用新型
专利状态:已下证
专利领域: 基本电气元件
更新日期:2025-04-16
缴费截止日期: 暂无
价格&联系人
年费信息
委托购买

摘要:

权利要求书:

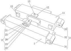
1.一种多重结构的互配电源连接器,包括第一座体(1),其特征在于:所述第一座体(1)的一侧活动连接有第二座体(11),所述第二座体(11)顶端的中部固定连接有顶板(12),所述顶板(12)顶端的中部固定连接有连接柱(13),所述第一座体(1)的顶端活动安装有固定机构(2),所述固定机构(2)包括固定板(21)、凹槽(22)、转轴(23)、两个连接杆(24)、连接板(25)、圆孔(26),所述固定板(21)的底端与对应第一座体(1)的顶端固定连接,所述固定板(21)的顶端开设有凹槽(22),所述凹槽(22)的内壁活动连接有转轴(23),所述转轴(23)的两端均固定连接有连接杆(24),两个所述连接杆(24)的外环壁均与对应凹槽(22)内壁的两侧活动连接,所述转轴(23)外环壁的一端固定连接有连接板(25),所述连接板(25)的顶端开设有圆孔(26),所述圆孔(26)的内壁与对应连接柱(13)的外壁卡接连接。

2.根据权利要求1所述的一种多重结构的互配电源连接器,其特征在于:所述第一座体(1)的一侧开设有两个卡槽(14),所述第二座体(11)的一侧固定连接有两个卡块(15),两个所述卡块(15)的外壁均与对应卡槽(14)的内壁卡接连接。

3.根据权利要求1所述的一种多重结构的互配电源连接器,其特征在于:所述第一座体(1)的另一侧开设有两个螺纹孔(16),所述第一座体(1)的外壁固定安装有加固机构(3),所述加固机构(3)包括两个圆盖(31)、两个丝杠(32)、两个圆槽(33),两个所述圆盖(31)的一端均固定连接有丝杠(32),两个所述丝杠(32)的外环壁均与对应螺纹孔(16)的内环壁螺纹连接,两个所述丝杠(32)的一端均螺纹连接有圆槽(33),两个所述圆槽(33)的外壁均与对应第二座体(11)的一侧固定连接。

4.根据权利要求1所述的一种多重结构的互配电源连接器,其特征在于:所述连接柱(13)外环壁的外径尺寸大小与对应圆孔(26)内环壁的内径尺寸大小匹配设置。

5.根据权利要求2所述的一种多重结构的互配电源连接器,其特征在于:两个所述卡槽(14)内壁一侧的面积尺寸大小均与对应卡块(15)外壁一侧的面积尺寸大小匹配设置,两个所述卡槽(14)内壁的深度尺寸大小均与对应卡块(15)外壁的长度尺寸大小匹配设置。

6.根据权利要求3所述的一种多重结构的互配电源连接器,其特征在于:两个所述螺纹孔(16)内环壁的内径尺寸大小均与对应丝杠(32)外环壁的外径尺寸大小匹配设置。

7.根据权利要求1所述的一种多重结构的互配电源连接器,其特征在于:所述转轴(23)的外环壁固定安装有由聚四氟乙烯材料制成的棉条,所述棉条内环壁的内径尺寸大小与对应转轴(23)外环壁的外径尺寸大小匹配设置。

8.根据权利要求3所述的一种多重结构的互配电源连接器,其特征在于:两个所述圆槽(33)内环壁的内径尺寸大小均与对应丝杠(32)外环壁的外径尺寸大小匹配设置。