欢迎来到知嘟嘟! 联系电话:13095918853 卖家免费入驻,海量在线求购! 卖家免费入驻,海量在线求购!
知嘟嘟
我要发布
联系电话:13095918853
知嘟嘟经纪人
收藏
专利号: 2021226302889
申请人: 苏州一平米智能科技有限公司
专利类型:实用新型
专利状态:已下证
专利领域: 工程元件或部件;为产生和保持机器或设备的有效运行的一般措施;一般绝热
更新日期:2023-09-11
缴费截止日期: 暂无
价格&联系人
年费信息
委托购买

摘要:

权利要求书:

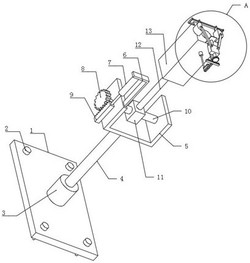
1.一种智慧安防用可调节的监控设备,包括安装板(1),其特征在于:所述安装板(1)四角均螺纹连接有螺栓(2),所述安装板(1)前端面中部固定连接有第一电机(3),所述第一电机(3)输出端固定连接有第一转轴(4),所述第一转轴(4)前端面固定连接有凹型板(5),所述凹型板(5)内侧左右端面均转动连接有第二转轴(10),所述第二转轴(10)中部固定连接有转动块(11)。

2.根据权利要求1所述的一种智慧安防用可调节的监控设备,其特征在于:所述凹型板(5)前端面左部下端固定连接有L型杆(6),所述L型杆(6)远离所述凹型板(5)的一端后端面左侧固定连接有电动伸缩杆(7)。

3.根据权利要求2所述的一种智慧安防用可调节的监控设备,其特征在于:所述电动伸缩杆(7)输出端固定连接有齿条(9),所述齿条(9)啮合连接有第一齿轮(8),所述第一齿轮(8)右端面固定连接有所述第二转轴(10)。

4.根据权利要求1所述的一种智慧安防用可调节的监控设备,其特征在于:转动块(11)前端面固定连接有连接杆(12),所述连接杆(12)前端面固定连接有监控外壳(13),随时监控外壳(13)前部设有摄像头(24)。

5.根据权利要求4所述的一种智慧安防用可调节的监控设备,其特征在于:所述监控外壳(13)左右端面前部上侧均固定连接有L型块(14),所述L型块(14)相互靠近的端面前部固定连接有滑杆(15),所述滑杆(15)左右两侧均滑动连接有滑块(16),所述滑块(16)下端面固定连接有海绵刷(17)。

6.根据权利要求5所述的一种智慧安防用可调节的监控设备,其特征在于:所述海绵刷(17)后端面滑动连接有所述摄像头(24),所述海绵刷(17)前端面通过销轴(19)转动连接有第一连杆(18),所述第一连杆(18)下端面通过所述销轴(19)转动连接有螺纹块(20),所述螺纹块(20)中部螺纹连接有螺纹杆(21),所述螺纹杆(21)上端面转动连接有固定板(31)。

7.根据权利要求6所述的一种智慧安防用可调节的监控设备,其特征在于:所述固定板(31)后端面固定连接有所述监控外壳(13),所述螺纹杆(21)下端面固定连接有第二齿轮(22),所述第二齿轮(22)啮合连接有第二齿条(23),所述第二齿条(23)上部设有滑槽(30),所述滑槽(30)内侧滑动连接有连接块(32),所述连接块(32)上端面固定连接有所述监控外壳(13)。

8.根据权利要求7所述的一种智慧安防用可调节的监控设备,其特征在于:所述第二齿条(23)后端面中部固定连接有滑槽杆(25),所述滑槽杆(25)内侧滑动连接有滑柱(26),所述滑柱(26)上端面固定连接有转动块(29),所述转动块(29)上端面后侧固定连接有第三转轴(28),所述第三转轴(28)上端面固定连接有第二电机(27),所述第二电机(27)上端面固定连接有所述监控外壳(13)。