欢迎来到知嘟嘟! 联系电话:13336804447 卖家免费入驻,海量在线求购! 卖家免费入驻,海量在线求购!
知嘟嘟
我要发布
联系电话:13336804447
知嘟嘟经纪人
收藏
专利号: 2021225384881
申请人: 句容兴星包装制品有限公司
专利类型:实用新型
专利状态:已下证
专利领域: 输送;包装;贮存;搬运薄的或细丝状材料
更新日期:2024-12-04
缴费截止日期: 暂无
价格&联系人
年费信息
委托购买

摘要:

权利要求书:

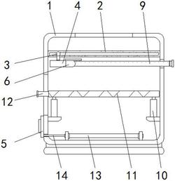
1.一种防止纸制品污染的纸制品塑料包装盒,包括包装盒本体(1),其特征在于:所述包装盒本体(1)的内部设置有防护机构,所述包装盒本体(1)的内部设置有拿取机构;

防护机构包括固定连接在包装盒本体(1)背面内壁的滑轨(2),所述滑轨(2)的内部滑动连接有滑块(3),所述滑块(3)的底部固定连接有第一连接板(4),所述第一连接板(4)的右侧固定连接有数量为两个的安装板(6),两个所述安装板(6)的相对的一侧均固定安装有轴承(7),两个所述轴承(7)之间均固定连接有转动辊(8),所述转动辊(8)的外部固定连接有延伸至包装盒本体(1)外部的第二连接板(9)。

2.根据权利要求1所述的一种防止纸制品污染的纸制品塑料包装盒,其特征在于:所述拿取机构包括两个分别固定连接在包装盒本体(1)左右两侧内壁的伸缩杆(10),两个所述伸缩杆(10)的顶部固定连接有放置板(11),所述放置板(11)的左侧固定连接有延伸至包装盒本体(1)左侧的按压板(12)。

3.根据权利要求1所述的一种防止纸制品污染的纸制品塑料包装盒,其特征在于:所述包装盒本体(1)的内底壁固定连接有消毒灯(13),所述消毒灯(13)的输入端电连接有电线(14),所述电线(14)远离消毒灯(13)的一侧固定连接有与包装盒本体(1)固定连接的电源(5)。

4.根据权利要求2所述的一种防止纸制品污染的纸制品塑料包装盒,其特征在于:所述放置板(11)为钢筋格栅,所述包装盒本体(1)的左侧开设有宽度与按压板(12)宽度相适配的按压槽。

5.根据权利要求1所述的一种防止纸制品污染的纸制品塑料包装盒,其特征在于:所述第一连接板(4)的宽度和第二连接板(9)的最长宽度相同,且包装盒本体(1)的右侧开设有宽度与第二连接板(9)宽度相适配的活动槽。

6.根据权利要求3所述的一种防止纸制品污染的纸制品塑料包装盒,其特征在于:所述电源(5)的左侧安装有开关按钮,所述包装盒本体(1)的左侧开设有直径与电线(14)相适配的电线孔。

7.根据权利要求1所述的一种防止纸制品污染的纸制品塑料包装盒,其特征在于:所述滑轨(2)的内部开设有宽度与滑块(3)相适配的滑动槽,所述包装盒本体(1)的顶部开设有拿取孔。