欢迎来到知嘟嘟! 联系电话:13336804447 卖家免费入驻,海量在线求购! 卖家免费入驻,海量在线求购!
知嘟嘟
我要发布
联系电话:13336804447
知嘟嘟经纪人
收藏
专利号: 2021224882273
申请人: 冯文静
专利类型:实用新型
专利状态:已下证
专利领域: 船舶或其他水上船只;与船有关的设备
更新日期:2024-02-29
缴费截止日期: 暂无
价格&联系人
年费信息
委托购买

摘要:

权利要求书:

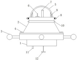
1.一种海洋生态自动监测浮标装置,包括底盘(1),其特征在于:所述底盘(1)的顶端连接有支撑板(2),所述支撑板(2)的顶端连接有透明保护罩(5),所述底盘(1)的一侧连接有浮球(3),所述底盘(1)的顶端安装有水质检测仪(11),所述水质检测仪(11)的一侧位于底盘(1)的顶端安装有卷线筒(14),所述卷线筒(14)的一侧连接有二号齿轮(16),所述支撑板(2)的内壁连接有电机(13),所述电机(13)的输出端连接有一号齿轮(15),所述卷线筒(14)的外壁连接有锚爪(12),所述支撑板(2)的顶端安装有无线电收发器(6),所述无线电收发器(6)的一侧位于支撑板(2)的顶端连接有控制中心(7),所述支撑板(2)的外壁连接有贯穿其外壁的插销(8),所述插销(8)的外壁套接有弹簧(17),所述支撑板(2)的外壁与底盘(1)的连接处连接有贯穿其外壁的螺栓(4),所述支撑板(2)的顶端位于透明保护罩(5)的内侧设置有弧形外沿(9),所述支撑板(2)的顶端与透明保护罩(5)的连接处设置有出水口(10)。

2.根据权利要求1所述的一种海洋生态自动监测浮标装置,其特征在于:所述弹簧(17)的一端与支撑板(2)的外壁连接,且弹簧(17)的另一端与插销(8)连接。

3.根据权利要求1所述的一种海洋生态自动监测浮标装置,其特征在于:所述卷线筒(14)的两侧与底盘(1)的顶端通过转轴连接,且二号齿轮(16)的一端也是与卷线筒(14)的一侧通过转轴连接。

4.根据权利要求1所述的一种海洋生态自动监测浮标装置,其特征在于:所述一号齿轮(15)的外壁与二号齿轮(16)的外壁相接触,且一号齿轮(15)与二号齿轮(16)外壁的接触处相啮合。

5.根据权利要求1所述的一种海洋生态自动监测浮标装置,其特征在于:所述支撑板(2)的顶端设置有与透明保护罩(5)底端相匹配的凹槽,且插销(8)贯穿支撑板(2)的外壁并延伸至透明保护罩(5)的内部。

6.根据权利要求1所述的一种海洋生态自动监测浮标装置,其特征在于:所述弧形外沿(9)的外壁与透明保护罩(5)的内壁之间设置有密封圈。