欢迎来到知嘟嘟! 联系电话:13336804447 卖家免费入驻,海量在线求购! 卖家免费入驻,海量在线求购!
知嘟嘟
我要发布
联系电话:13336804447
知嘟嘟经纪人
收藏
专利号: 2021224819852
申请人: 苏州泰普威环保科技有限公司
专利类型:实用新型
专利状态:已下证
专利领域: 供热;炉灶;通风
更新日期:2025-04-01
缴费截止日期: 暂无
价格&联系人
年费信息
委托购买

摘要:

权利要求书:

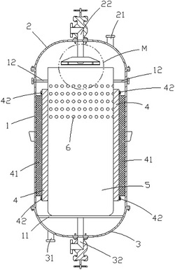
1.一种制冷空调设备稳压调节补水装置,其特征在于:包括外筒体(1)、承载板(11)、固定螺栓(12)、上筒盖(2)、下筒盖(3)、套筒(4)、海绵套(41)、卡箍(42)、进水管(22)、出水管(32)和内桶体(5),所述上筒盖(2)、下筒盖(3)分别固定安装在外筒体(1)的上、下两端,所述承载板(11)固定安装在下筒盖(3)上,所述内桶体(5)置于外筒体(1)内,所述内桶体(5)下部放置在承载板(11)上,所述固定螺栓(12)螺接密封固定安装在外筒体前后、左右四个面上,所述固定螺栓(12)内端压接在内桶体(5)上,所述内桶体(5)上部呈环形阵列设置有数圈溢流孔(6),所述套筒(4)滑动密封套接安装在内桶体(5)上,所述套筒(4)上下两端通过套接卡箍(42)锁紧固定安装在内桶体(5)上,所述海绵套(41)固定套接安装在套筒(4)上,所述进水管(22)固定且密封安装在上筒盖(2)上,所述出水管(32)固定且密封安装在下筒盖(3)上,所述出水管(32)上端密封连通至内桶体(5)底部,所述上筒盖(2)上设置有气压调节管(21),所述下筒盖(3)上设置有排水管(31),所述承载板(11)上设置有过水孔。

2.根据权利要求1所述的制冷空调设备稳压调节补水装置,其特征在于:所述海绵套(41)设置为网孔海绵。

3.根据权利要求1所述的制冷空调设备稳压调节补水装置,其特征在于:所述进水管(22)下端固定安装有导流罩(7),所述导流罩(7)下部通过支撑柱(9)固定安装有导流板(8),所述导流罩(7)与导流板(8)之间形成导流区域(10)。

4.根据权利要求1所述的制冷空调设备稳压调节补水装置,其特征在于:所述海绵套(41)贴覆在外筒体(1)的内壁上。