欢迎来到知嘟嘟! 联系电话:13336804447 卖家免费入驻,海量在线求购! 卖家免费入驻,海量在线求购!
知嘟嘟
我要发布
联系电话:13336804447
知嘟嘟经纪人
收藏
专利号: 202122347774X
申请人: 山东创时空调工程有限公司
专利类型:实用新型
专利状态:已下证
专利领域: 供热;炉灶;通风
更新日期:2024-02-23
缴费截止日期: 暂无
价格&联系人
年费信息
委托购买

摘要:

权利要求书:

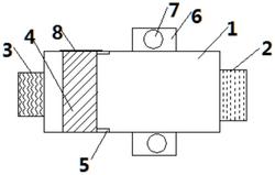
1.通风空调工程用复合玻纤风管,包括风管本体,其特征在于,所述风管本体包括两个以上连接风管,所述连接风管的一端设有第一连接端,所述连接风管的另一端设有第二连接端,相邻两个连接风管之间通过其中一个连接风管的第一连接端和另一个连接风管的第二连接端相连接,所述连接风管内设有过滤装置,所述过滤装置包括过滤框,所述过滤框的大小与连接风管的内腔相匹配,所述过滤框内设有与过滤框相适配的过滤芯,所述过滤框的一侧设有限位凸起。

2.如权利要求1所述的通风空调工程用复合玻纤风管,其特征在于,所述第一连接端的内壁设有内螺纹,所述第二连接端的外壁设有与内螺纹相配合的外螺纹。

3.如权利要求1所述的通风空调工程用复合玻纤风管,其特征在于,所述连接风管的内壁设有防腐层。

4.如权利要求1所述的通风空调工程用复合玻纤风管,其特征在于,所述连接风管的中部设有连接板,所述连接板上设有连接孔。

5.如权利要求1所述的通风空调工程用复合玻纤风管,其特征在于,所述第一连接端的外部设有加紧箍,所述加紧箍包括两个卡座,其中一个卡座上设有向下的弧形下凹槽,另一个卡座上设有向上的弧形上凹槽,所述弧形上凹槽和弧形下凹槽的形状与第一连接端的外部形状相适配,所述卡座的两端设有卡耳,所述卡耳上设有螺纹孔。

6.如权利要求1所述的通风空调工程用复合玻纤风管,其特征在于, 所述连接风管上设有放置或取出过滤框的开口和开口盖。

7.如权利要求6所述的通风空调工程用复合玻纤风管,其特征在于,所述过滤框设置在第二连接端内,所述过滤框上设有挂钩。