欢迎来到知嘟嘟! 联系电话:13336804447 卖家免费入驻,海量在线求购! 卖家免费入驻,海量在线求购!
知嘟嘟
我要发布
联系电话:13336804447
知嘟嘟经纪人
收藏
专利号: 2021223338910
申请人: 江苏常熟发电有限公司
专利类型:实用新型
专利状态:已下证
专利领域: 测量;测试
更新日期:2023-08-28
缴费截止日期: 暂无
价格&联系人
年费信息
委托购买

摘要:

权利要求书:

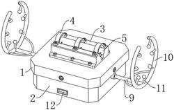
1.一种配电房广域局放监测物联网传感器,包括传感器固定盒(1),其特征在于:所述传感器固定盒(1)的底部安装有UHF传感器壳体(2),且UHF传感器壳体(2)与传感器固定盒(1)之间通过螺栓连接,所述传感器固定盒(1)的顶部中间通过螺栓固定有固定卡块(3),所述固定卡块(3)的顶部通过螺栓均匀安装有多个弧形卡箍(4),所述固定卡块(3)的顶部中间横向开设有与弧形卡箍(4)相配合的弧形卡槽(5),所述弧形卡槽(5)的内腔侧壁开设有限位卡槽(6),所述限位卡槽(6)的内腔横向安装有限位卡板(7),所述限位卡板(7)的底部与限位卡槽(6)的内腔底部之间竖向均匀粘接有多个压紧弹簧(8),所述UHF传感器壳体(2)的两侧对称安装有UHF检测天线(9),所述UHF检测天线(9)的外端安装有UHF弧形天线(10),所述UHF弧形天线(10)的内部均匀设置有多个UHF检测探头(11)。

2.根据权利要求1所述的一种配电房广域局放监测物联网传感器,其特征在于:所述UHF传感器壳体(2)的侧壁镶嵌安装有USB电源接口(12),所述UHF传感器壳体(2)的内腔四角均安装有物联网收发天线(13),且物联网收发天线(13)的底端贯穿UHF传感器壳体(2)的底部,所述UHF传感器壳体(2)的内腔分别安装有微处理芯片(14)、数据采集模块(15)以及信号补偿模块(16),且信号补偿模块(16)与UHF检测天线(9)的内端连接。

3.根据权利要求2所述的一种配电房广域局放监测物联网传感器,其特征在于:四个所述物联网收发天线(13)之间通过导线串联连接,且物联网收发天线(13)的输入端通过导线与微处理芯片(14)的输出端连接,所述信号补偿模块(16)的输出端通过导线与数据采集模块(15)的输入端连接,所述数据采集模块(15)的输出端通过导线与微处理芯片(14)的输入端连接,所述USB电源接口(12)的输出端与微处理芯片(14)的输入端通过导线连接。

4.根据权利要求1所述的一种配电房广域局放监测物联网传感器,其特征在于:所述限位卡板(7)包括弧形卡板(71),所述弧形卡板(71)的侧壁均匀焊接有限位滑块(72),所述弧形卡板(71)的顶部均匀设置有多个防滑条纹(73)。

5.根据权利要求4所述的一种配电房广域局放监测物联网传感器,其特征在于:所述限位卡槽(6)的内腔侧壁均匀开设有与限位滑块(72)相配合的限位滑槽,且限位滑槽与限位滑块(72)之间为间隙配合。