欢迎来到知嘟嘟! 联系电话:13336804447 卖家免费入驻,海量在线求购! 卖家免费入驻,海量在线求购!
知嘟嘟
我要发布
联系电话:13336804447
知嘟嘟经纪人
收藏
专利号: 2021222967258
申请人: 刘洁
专利类型:实用新型
专利状态:已下证
专利领域: 测量;测试
更新日期:2024-02-23
缴费截止日期: 暂无
价格&联系人
年费信息
委托购买

摘要:

权利要求书:

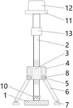
1.一种便于架设的林业环境监测装置,其特征在于,包括:底座,所述底座的中侧上端面固定安装有支撑柱并起到稳定支撑的效果,且支撑柱的下侧外部连接有调节块,所述调节块的外部设置有支撑结构并起到支撑作用;

转动环,其连接在支撑柱上侧,所述支撑柱的上端固定安装有承接板,且承接板的上端固定安装有监测本体;

衔接槽,其开设在底座的内部,所述支撑柱的下端内部开设有承接槽,且承接槽的内部连接有承载杆,并且承载杆的外部连接有运动块并起到调节作用。

2.根据权利要求1所述的一种便于架设的林业环境监测装置,其特征在于:所述调节块的外部固定安装有衔接块;

调节杆,其贯穿连接在衔接块的内部;

支撑杆,其安装在调节杆的外部;

支撑块,其转动连接在支撑杆的下端;

承接块,其连接有在调节杆的外端外部。

3.根据权利要求2所述的一种便于架设的林业环境监测装置,其特征在于:所述调节杆在衔接块内构成卡合式滑动结构并起到调节作用,且调节杆与承接块采用螺纹的方式相连接并起到固定作用。

4.根据权利要求2所述的一种便于架设的林业环境监测装置,其特征在于:所述支撑杆在调节块上等角度设置,且调节块与支撑柱采用螺纹的方式相连接。

5.根据权利要求1所述的一种便于架设的林业环境监测装置,其特征在于:所述承载杆通过运动块在支撑柱内构成升降结构,且承载杆的中心线与支撑柱的中心线重合。