欢迎来到知嘟嘟! 联系电话:13336804447 卖家免费入驻,海量在线求购! 卖家免费入驻,海量在线求购!
知嘟嘟
我要发布
联系电话:13336804447
知嘟嘟经纪人
收藏
专利号: 2021222494606
申请人: 山东农业大学
专利类型:实用新型
专利状态:已下证
专利领域: 农业;林业;畜牧业;狩猎;诱捕;捕鱼
更新日期:2023-12-04
缴费截止日期: 暂无
价格&联系人
年费信息
委托购买

摘要:

权利要求书:

1.菌菇疏蕾机器人末端执行器,其特征在于:包括调向机构、摆动机构、分离机构和移除机构;

所述摆动机构连接调向机构、分离机构和移除机构,摆动机构固定在调向机构下端,分离机构固定在摆动机构的下端,移除机构位于摆动机构的一侧。

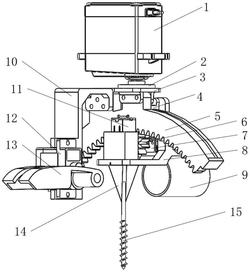
2.如权利要求1所述的菌菇疏蕾机器人末端执行器,其特征在于:所述调向机构包括转向舵机(1)、舵盘(2)和转向支架(3),转向舵机(1)固定在机器人机械臂末端的基座上,转向舵机(1)通过输出轴与舵盘(2)连接,舵盘(2)与转向支架(3)固定连接,转向支架(3)下方连接有末端执行器其他部件,通过转向舵机(1)驱动舵盘(2)和转向支架(3)的转动,从而带动末端执行器的转动完成调向。

3.如权利要求2所述的菌菇疏蕾机器人末端执行器,其特征在于:所述摆动机构包括弧形齿条(5)和小齿轮(6),弧形齿条(5)固定在转向支架(3)下端,弧形齿条(5)下部分布有齿,小齿轮(6)与弧形齿条(5)下部的齿啮合,小齿轮(6)连接有摆动电机(7),摆动电机(7)驱动小齿轮(6)转动。

4.如权利要求3所述的菌菇疏蕾机器人末端执行器,其特征在于:所述弧形齿条(5)侧面设有槽型轨道,槽型轨道内安装有滑块(4),滑块(4)可沿槽型轨道滑动。

5.如权利要求4所述的菌菇疏蕾机器人末端执行器,其特征在于:所述摆动机构还包括L型连接板(8),L型连接板(8)一端固定连接摆动电机(7),另一端固定连接滑块(4),通过摆动电机(7)驱动小齿轮(6)转动,带动滑块(4)沿槽型轨道滑动,实现L型连接板(8)往复摆动。

6.如权利要求5所述的菌菇疏蕾机器人末端执行器,其特征在于:所述分离机构包括减速电机(11)和螺纹杆(15),减速电机(11)安装在L型连接板(8)上,减速电机(11)输出轴与螺纹杆(15)固定连接。

7.如权利要求6所述的菌菇疏蕾机器人末端执行器,其特征在于:所述移除机构包括举升装置,举升装置固定在弧形齿条(5)上。

8.如权利要求7所述的菌菇疏蕾机器人末端执行器,其特征在于:所述举升装置包括连接架(10)、举升舵机(12)和举升板(13),连接架(10)固定在弧形齿条(5)上,举升舵机(12)固定在连接架(10)上,举升板(13)与举升舵机(12)连接。

9.如权利要求8所述的菌菇疏蕾机器人末端执行器,其特征在于:所述举升板(13)中间开有槽,用于穿过螺纹杆(15)并接触到固定于螺纹杆(15)上的菌菇,用来推动菌菇沿螺纹杆(15)上升。

10.如权利要求7所述的菌菇疏蕾机器人末端执行器,其特征在于:所述移除机构还包括刀片(14)和吸气管(9),刀片(14)安装在L型连接板(8)下端并固定在螺纹杆(15)上部两侧,吸气管(9)安装在L型连接板(8)下端,位于举升装置的对侧,并外接于一个吸气泵用于提供吸力。