欢迎来到知嘟嘟! 联系电话:13336804447 卖家免费入驻,海量在线求购! 卖家免费入驻,海量在线求购!
知嘟嘟
我要发布
联系电话:13336804447
知嘟嘟经纪人
收藏
专利号: 2021219822978
申请人: 徐孟子
专利类型:实用新型
专利状态:已下证
专利领域: 农业;林业;畜牧业;狩猎;诱捕;捕鱼
更新日期:2024-01-17
缴费截止日期: 暂无
价格&联系人
年费信息
委托购买

摘要:

权利要求书:

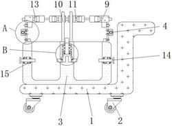
1.一种园林景观苗木移植装置,其特征在于,包括:安装板,所述安装板的下端安装有外向轮,且外向轮的上端设置有移植箱,所述移植箱的前后两侧均安装有拆装机构,且移植箱的上端外侧连接有连接杆,所述移植箱的上端中部固定安装有固定杆,且固定杆的外侧滑动连接有第二衔接块,所述连接杆的上端转动连接有移动块,且移动块的内部安装有圆杆;

衔接杆,其安装在移动块的上端,所述衔接杆的上端转动连接有固定块,且固定块的上端固定安装有第一衔接块,所述第一衔接块的外侧与第二衔接块的内侧均螺纹连接有移动杆,且移动杆的内侧连接有防护块;

活动块,其滑动安装在移植箱的外侧,所述移植箱的内部安装有移动板,且移动板的外侧转动连接有活动杆,所述活动杆的外侧转动连接有限位块,所述移动板的上侧与活动块的外侧均设置有弹簧。

2.根据权利要求1所述的一种园林景观苗木移植装置,其特征在于:所述圆杆与移动块采用螺纹的方式相连接,且移动块与衔接杆采用转动的方式相连接。

3.根据权利要求1所述的一种园林景观苗木移植装置,其特征在于:所述连接杆与移植箱采用转动的方式相连接,且连接杆关于移植箱的中心线前后对称分布。

4.根据权利要求1所述的一种园林景观苗木移植装置,其特征在于:所述限位块与移植箱采用滑动的方式相连接,且限位块关于移动板的中心线左右对称分布。

5.根据权利要求1所述的一种园林景观苗木移植装置,其特征在于:所述拆装机构包括固定板和安装杆;

固定板,其单体分别安装在移植箱的前后两侧;

安装杆,其安装在固定板的中部。

6.根据权利要求5所述的一种园林景观苗木移植装置,其特征在于:所述固定板与安装杆之间的螺纹连接并对移植箱起到拆装作用。