欢迎来到知嘟嘟! 联系电话:13336804447 卖家免费入驻,海量在线求购! 卖家免费入驻,海量在线求购!
知嘟嘟
我要发布
联系电话:13336804447
知嘟嘟经纪人
收藏
专利号: 2021217616196
申请人: 宁波大学科学技术学院
专利类型:实用新型
专利状态:已下证
专利领域: 医学或兽医学;卫生学
更新日期:2023-11-29
缴费截止日期: 暂无
价格&联系人
年费信息
委托购买

摘要:

权利要求书:

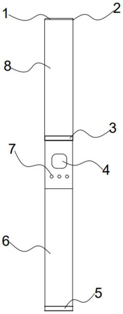
1.一种可快速更换刷头的电动牙刷,其包括磁扣盖(1)、刷柄(6)、刷盖(8)、牙刷头组件以及安装于所述刷柄(6)内的电动执行机构,其特征在于:所述刷柄(6)的顶端面上设置有驱动于所述电动执行机构驱动端上的驱动杆(15),且所述驱动杆(15)上可拆卸安装有所述牙刷头组件,所述刷柄(6)外侧面的顶端固定设置有两个盖部环筋(301),两个盖部环筋(301)之间形成有盖部卡槽(3),所述刷柄(6)外侧面的底端固定设置有两个柄部环筋(501),两个所述柄部环筋(501)之间形成有柄部卡槽(5),且所述柄部卡槽(5)与所述盖部卡槽(3)结构相同;

所述刷盖(8)的上、下端均开口设置,所述刷盖(8)顶端开口处采用转轴(2)转动安装有所述磁扣盖(1),所述刷盖(8)内壁的底端圆周阵列有多个均匀分布的卡块(801),且每个所述卡块(801)均能够与所述盖部卡槽(3)和柄部卡槽(5)匹配卡扣连接。

2.根据权利要求1所述的一种可快速更换刷头的电动牙刷,其特征在于:所述牙刷头组件包括连接杆(10)、外圈刷毛体(11)、刷头(12)以及内圈刷毛体(13),所述连接杆(10)的顶端固定设置有所述刷头(12),所述刷头(12)的正端面上设置有内圈刷毛体(13)和外圈刷毛体(11),且所述内圈刷毛体(13)位于所述外圈刷毛体(11)的内圈内。

3.根据权利要求2所述的一种可快速更换刷头的电动牙刷,其特征在于:所述连接杆(10)的底端面的中心位置开设有安装孔(17),所述安装孔(17)顶部的内壁设置有内螺纹段(1701),所述安装孔(17)内适配插入有所述驱动杆(15),且所述驱动杆(15)顶部的外侧面上设置有外螺纹段(1501),使得所述驱动杆(15)与所述安装孔(17)适配螺纹连接。

4.根据权利要求3所述的一种可快速更换刷头的电动牙刷,其特征在于:所述连接杆(10)的底端与所述刷柄(6)的顶端之间设置有橡胶环垫(16),且所述橡胶环垫(16)套设于所述驱动杆(15)的外侧面上。

5.根据权利要求1所述的一种可快速更换刷头的电动牙刷,其特征在于:所述刷柄(6)正端面的顶部设置有开关按钮(4)和档位显示灯(7)。

6.根据权利要求5所述的一种可快速更换刷头的电动牙刷,其特征在于:所述刷柄(6)的底端面上设置有三孔式充电口(14)。