欢迎来到知嘟嘟! 联系电话:13336804447 卖家免费入驻,海量在线求购! 卖家免费入驻,海量在线求购!
知嘟嘟
我要发布
联系电话:13336804447
知嘟嘟经纪人
收藏
专利号: 2021215841471
申请人: 江苏建筑职业技术学院
专利类型:实用新型
专利状态:已下证
专利领域: 土层或岩石的钻进;采矿
更新日期:2024-12-19
缴费截止日期: 暂无
价格&联系人
年费信息
委托购买

摘要:

权利要求书:

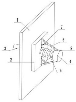
1.一种多方位让压型锚杆托盘,包括安装端(1)、托盘(2)和锚杆(3),其特征在于:所述托盘(2)紧贴安装端(1)的端面,所述锚杆(3)穿过安装端(1)和托盘(2),所述锚杆(3)与所述托盘(2)相邻的一端端部设有限位圆台(4),所述限位圆台(4)和所述托盘(2)之间的所述锚杆(3)外部设有缓冲弹簧(5),所述限位圆台(4)的两侧对称设有缓冲装置,所述缓冲装置与支撑杆(6)相连接,所述支撑杆(6)与所述托盘(2)相连接,所述支撑杆(6)内侧的所述托盘(2)端面上设置有滑动机构,所述滑动机构内设有卸力杆(7),所述卸力杆(7)的另一端与所述支撑杆(6)铰接连接。

2.根据权利要求1所述的一种多方位让压型锚杆托盘,其特征在于:所述缓冲装置包括缓冲槽(8)和设在所述缓冲槽(8)内的滑槽(81),所述滑槽(81)内滑动安装有滑块(61),所述滑块(61)的一端设有梯形块(62),与所述梯形块(62)相邻的一边设有弹性板(82)。

3.根据权利要求2所述的一种多方位让压型锚杆托盘,其特征在于:所述弹性板(82)的两端与所述缓冲槽(8)的内部固定连接,并且其上设置有若干可与所述梯形块(62)相配合的梯形槽。

4.根据权利要求3所述的一种多方位让压型锚杆托盘,其特征在于:所述弹性板(82)远离所述梯形块(62)的一端设有若干支撑弹簧(83),所述支撑弹簧(83)的两端连接所述弹性板(82)与所述缓冲槽(8)的内壁。

5.根据权利要求2所述的一种多方位让压型锚杆托盘,其特征在于:所述滑块(61)的另一端安装有支撑杆(6),所述支撑杆(6)有两个,分别安装在两个所述缓冲槽(8)内的所述滑块(61)上,所述支撑杆(6)的另一端与所述托盘(2)的两个对称边铰接连接。

6.根据权利要求1所述的一种多方位让压型锚杆托盘,其特征在于:所述滑动机构包括卸力槽(21)和卸力弹簧(71),所述卸力槽(21)设置在托盘(2)的端面上,所述卸力杆(7)的一端在卸力槽(21)内滑动连接。

7.根据权利要求6所述的一种多方位让压型锚杆托盘,其特征在于:所述卸力弹簧(71)的一端与所述卸力槽(21)内部靠近锚杆(3)的一端固定连接,另一端与嵌入在所述卸力槽(21)内的所述卸力杆(7)端部连接。

8.根据权利要求4所述的一种多方位让压型锚杆托盘,其特征在于:所述弹性板(82)采用具有可回弹能力的金属材料制作。