欢迎来到知嘟嘟! 联系电话:13336804447 卖家免费入驻,海量在线求购! 卖家免费入驻,海量在线求购!
知嘟嘟
我要发布
联系电话:13336804447
知嘟嘟经纪人
收藏
专利号: 2021215349627
申请人: 阳春雄
专利类型:实用新型
专利状态:已下证
专利领域: 测量;测试
更新日期:2024-02-23
缴费截止日期: 暂无
价格&联系人
年费信息
委托购买

摘要:

权利要求书:

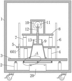
1.一种混凝土坍落度检测装置,包括箱体(1),其特征在于,还包括:第一伸缩杆(2),对称安装在所述箱体(1)内;

调平板(3),两端分别与所述第一伸缩杆(2)转动连接;

套筒(14),安装在所述调平板(3)上;

控制开关(16),对称安装在所述套筒(14)的两端;

滚珠(15),滚动连接在所述套筒(14)内;

第二伸缩杆(4),对称安装在所述调平板(3)上;

检测筒(9),通过连接板(5)连接在两个所述第二伸缩杆(4)的中间;

第三伸缩杆(7),安装在所述连接板(5)上;

支架(8),固定连接在所述第三伸缩杆(7)上;

电机(10),安装在所述支架(8)上,且输出端固定连接有转动盘(11);

捣压板(13),滑动连接在所述支架(8)上,且上端通过连杆(12)与所述转动盘(11)的一端转动连接,

其中,所述捣压板(13)位于检测筒(9)的正上方。

2.根据权利要求1所述的一种混凝土坍落度检测装置,其特征在于,所述箱体(1)内部放置有蓄电池(20),所述第一伸缩杆(2)、第二伸缩杆(4)、第三伸缩杆(7)、电机(10)均与蓄电池(20)电性连接。

3.根据权利要求1所述的一种混凝土坍落度检测装置,其特征在于,所述调平板(3)的两端固定连接有限位杆(6),所述连接板(5)滑动连接在限位杆(6)上。

4.根据权利要求3所述的一种混凝土坍落度检测装置,其特征在于,所述限位杆(6)上设置有刻度线(601)。

5.根据权利要求4所述的一种混凝土坍落度检测装置,其特征在于,所述检测筒(9)、套筒(14)均由透明材质制成。

6.根据权利要求1所述的一种混凝土坍落度检测装置,其特征在于,所述调平板(3)上位于检测筒(9)的正下方固定连接有密封板(17)。

7.根据权利要求1所述的一种混凝土坍落度检测装置,其特征在于,所述箱体(1)上通过合页铰链转动连接有密封门(18),所述密封门(18)上固定连接有透明板(19)。

我要求购
我不想找了,帮我找吧
您有专利需要变现?
我要出售
智能匹配需求,快速出售