欢迎来到知嘟嘟! 联系电话:13336804447 卖家免费入驻,海量在线求购! 卖家免费入驻,海量在线求购!
知嘟嘟
我要发布
联系电话:13336804447
知嘟嘟经纪人
收藏
专利号: 2021214935607
申请人: 涂兴成
专利类型:实用新型
专利状态:已下证
专利领域: 燃烧发动机;热气或燃烧生成物的发动机装置
更新日期:2024-02-23
缴费截止日期: 暂无
价格&联系人
年费信息
委托购买

摘要:

权利要求书:

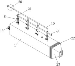
1.一种低浓度瓦斯的前置混合系统,包括壳体(1),其特征在于:所述壳体(1)的内壁由左至右分别固定连接有空心框(2)和竖板(3),所述空心框(2)的内壁开设有出气孔(4),所述竖板(3)的左侧开设有圆孔(5),所述空心框(2)的顶部固定连通有连接管(6),所述连接管(6)远离空心框(2)的两端均贯穿至壳体(1)的顶部,所述连接管(6)靠近壳体(1)一端的表面设置有电子流量阀(7),所述连接管(6)远离壳体(1)一端的表面设置有第一电磁阀(8),所述连接管(6)远离壳体(1)另一端的表面设置第二电磁阀(21),所述连接管(6)靠近第一电磁阀(8)的一端固定连通有空气管(9),所述连接管(6)靠近第二电磁阀(21)的一端固定连通有瓦斯管(10),所述壳体(1)的左侧贯穿设置有转杆(11),所述转杆(11)的右端贯穿壳体(1)和竖板(3)并延伸至壳体(1)的内腔,所述转杆(11)的表面固定连接有搅拌桨(12),所述壳体(1)的左侧固定连接有U型板(13),所述U型板(13)的左侧固定连接有电机(14),所述电机(14)转轴的右端贯穿至U型板(13)的内腔,所述电机(14)转轴的右端和转杆(11)的左端均固定连接有皮带盘(15),所述皮带盘(15)的表面套设有皮带(16),所述壳体(1)内腔的背面由左至右分别安装有第一浓度传感器(17)、第二浓度传感器(18)、第三浓度传感器(19)和第四浓度传感器(20),所述电机(14)的输入端电性连接有处理器(28),所述处理器(28)双向电性连接有工控机(29)。

2.根据权利要求1所述的一种低浓度瓦斯的前置混合系统,其特征在于:所述第一浓度传感器(17)、第二浓度传感器(18)、第三浓度传感器(19)、第四浓度传感器(20)和电子流量阀(7)的输出端均与处理器(28)的输入端电性连接,所述处理器(28)的输出端分别与第一电磁阀(8)和第二电磁阀(21)的输入端电性连接。

3.根据权利要求1所述的一种低浓度瓦斯的前置混合系统,其特征在于:所述壳体(1)的右侧安装有干式阻火器(22),所述干式阻火器(22)的右侧安装有出气管(23)。

4.根据权利要求1所述的一种低浓度瓦斯的前置混合系统,其特征在于:所述瓦斯管(10)远离连接管(6)的一端固定连通有短管(24),所述短管(24)远离瓦斯管(10)的一端固定连通有箱体(25),所述箱体(25)的内壁由左至右分别安装有过滤网(26)和活性炭网板(27)。

5.根据权利要求4所述的一种低浓度瓦斯的前置混合系统,其特征在于:所述箱体(25)的左侧也固定连通有短管(24),所述箱体(25)的正面通过螺栓活动连接有箱门。

6.根据权利要求1所述的一种低浓度瓦斯的前置混合系统,其特征在于:所述转杆(11)和壳体(1)之间设置有轴承,轴承套设在转杆(11)的表面。

7.根据权利要求1所述的一种低浓度瓦斯的前置混合系统,其特征在于:所述壳体(1)顶部的右侧安装有温度传感器,温度传感器的输出端与处理器(28)的输入端电性连接。