欢迎来到知嘟嘟! 联系电话:13336804447 卖家免费入驻,海量在线求购! 卖家免费入驻,海量在线求购!
知嘟嘟
我要发布
联系电话:13336804447
知嘟嘟经纪人
收藏
专利号: 2021214251462
申请人: 徐州华飞交通设备制造有限公司
专利类型:实用新型
专利状态:已下证
专利领域: 道路、铁路或桥梁的建筑
更新日期:2024-02-23
缴费截止日期: 暂无
价格&联系人
年费信息
委托购买

摘要:

权利要求书:

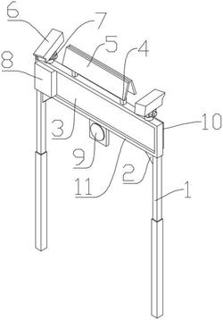
1.一种狭窄路段交通警示装置,其特征在于,包括两个支撑杆(1)、显示屏(3)、支架(4)、太阳能电池板(5)、两个摄像头(6)、稳压电源(8)、交通灯(9)、控制器(10)和安装框(11),所述显示屏(3)设置在所述安装框(11)的内部,所述显示屏(3)通过螺栓与所述安装框(11)连接,两个所述支撑杆(1)对称设置在所述安装框(11)下部的两侧,所述支撑杆(1)的上端通过螺栓与所述安装框(11)连接,两个所述摄像头(6)对称设置在所述安装框(11)的上部,所述摄像头(6)通过铰链(7)与所述安装框(11)连接,所述交通灯(9)设置在所述安装框(11)的下部的中心处,所述交通灯(9)通过螺栓与所述安装框(11)连接,所述支架(4)设置在所述安装框(11)的上部,所述太阳能电池板(5)、所述支架(4)和所述安装框(11)依次通过螺栓连接,所述稳压电源(8)通过螺栓与所述安装框(11)的左部连接,所述控制器(10)通过螺栓与所述安装框(11)的右部连接。

2.如权利要求1所述的一种狭窄路段交通警示装置,其特征在于,所述稳压电源(8)分别与所述太阳能电池板(5)、所述控制器(10)、所述显示屏(3)、所述交通灯(9)和两个所述摄像头(6)电连接。

3.如权利要求1所述的一种狭窄路段交通警示装置,其特征在于,所述控制器(10)分别与所述显示屏(3)、所述交通灯(9)和两个所述摄像头(6)信号连接。

4.如权利要求1所述的一种狭窄路段交通警示装置,其特征在于,所述控制器(10)包括PLC控制器。

5.如权利要求1所述的一种狭窄路段交通警示装置,其特征在于,所述稳压电源(8)包括锂电池。

6.如权利要求1所述的一种狭窄路段交通警示装置,其特征在于,还包括两个加强肋(2),两个所述加强肋(2)对称设置在所述安装框(11)下部的两侧,所述安装框(11)、所述加强肋(2)和所述支撑杆(1)的上端依次通过螺栓连接。

7.如权利要求1所述的一种狭窄路段交通警示装置,其特征在于,所述安装框(11)的材质和两个所述支撑杆(1)的材质均包括不锈钢。