欢迎来到知嘟嘟! 联系电话:13336804447 卖家免费入驻,海量在线求购! 卖家免费入驻,海量在线求购!
知嘟嘟
我要发布
联系电话:13336804447
知嘟嘟经纪人
收藏
专利号: 2021213018600
申请人: 江西葛花宝生态农业科技有限公司
专利类型:实用新型
专利状态:已下证
专利领域: 输送;包装;贮存;搬运薄的或细丝状材料
更新日期:2024-02-23
缴费截止日期: 暂无
价格&联系人
年费信息
委托购买

摘要:

权利要求书:

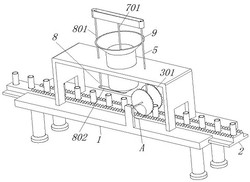
1.葛根粉定量灌装机构,包括基座(1)和滑块(2),其特征在于:所述基座(1)上方卡合有滑块(2),且所述滑块(2)上方轴承连接有主轴(3),所述主轴(3)中间外侧焊接固定有锥形齿轮(4),且所述锥形齿轮(4)上方内侧安装有从动轴(5),所述从动轴(5)上方外侧键连接有链轮机构(6),所述链轮机构(6)中间设置有能够对葛根粉进行均匀搅拌导料的搅拌机构(7),所述搅拌机构(7)外侧设置有通过固定板焊接固定的储料桶(9),且所述储料桶(9)下方安装有可对葛根粉间歇灌装的出料机构(8)。

2.根据权利要求1所述的葛根粉定量灌装机构,其特征在于:所述基座(1)上方为齿条状,且所述基座(1)上方与所述滑块(2)构成左右滑动结构。

3.根据权利要求1所述的葛根粉定量灌装机构,其特征在于:所述主轴(3)外侧焊接固定有传动齿轮(301),且所述传动齿轮(301)外侧为三等分齿条状,所述传动齿轮(301)与所述滑块(2)上方相互啮合并构成左右间歇滑动机构。

4.根据权利要求1所述的葛根粉定量灌装机构,其特征在于:所述搅拌机构(7)包括键链接在所述链轮机构(6)中间内侧的中轴(701),且中轴(701)左侧均焊接有搅拌杆(702),所述中轴(701)下端左侧焊接固定有可对储料桶(9)内部葛根粉进行导料的刮板(703)。

5.根据权利要求4所述的葛根粉定量灌装机构,其特征在于:所述刮板(703)与储料桶(9)内壁相接触,且所述刮板(703)为硅胶材质。

6.根据权利要求1所述的葛根粉定量灌装机构,其特征在于:所述出料机构(8)包括键链接在所述链轮机构(6)左侧内部的转杆(801),且所述转杆(801)下端焊接固定有可对葛根粉间歇出料的挡板(802),所述挡板(802)上方右侧与所述储料桶(9)底端相接触。