欢迎来到知嘟嘟! 联系电话:13336804447 卖家免费入驻,海量在线求购! 卖家免费入驻,海量在线求购!
知嘟嘟
我要发布
联系电话:13336804447
知嘟嘟经纪人
收藏
专利号: 2021207686934
申请人: 天津市琢玉教育信息咨询有限责任公司
专利类型:实用新型
专利状态:已下证
专利领域: 教育;密码术;显示;广告;印鉴
更新日期:2024-01-05
缴费截止日期: 暂无
价格&联系人
年费信息
委托购买

摘要:

权利要求书:

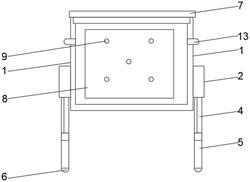
1.一种教育信息咨询展示装置,其特征在于:包括透明展示框(1),所述透明展示框(1)的两侧表壁固定连接有立柱(2),所述立柱(2)的内侧开设有凸形槽(3),所述凸形槽(3)的内侧设置有插杆(4),所述插杆(4)的底端固定连接有连接架(5),所述连接架(5)的顶端固定连接有耐磨垫(6),所述透明展示框(1)的上端设置有长条密封塞(7),所述透明展示框(1)的内壁固定连接有吸附板(8),所述吸附板(8)的前表壁开设有通孔(9),所述吸附板(8)的内部开设有排气槽(10),所述吸附板(8)的后表壁开设有螺孔(11),所述螺孔(11)的内侧靠近透明展示框(1)的后表壁安装有连接管件(12),所述连接管件(12)的外环面靠近透明展示框(1)的后表壁设置有密封垫圈(121),所述透明展示框(1)的两侧表壁贯穿安装有排气管(13),所述排气管(13)的外表壁靠近透明展示框(1)的后表壁固定连接有固定块(14),所述排气管(13)的相对一侧安装有三通管(15)。

2.根据权利要求1所述的一种教育信息咨询展示装置,其特征在于:所述透明展示框(1)由聚氯乙烯材料制成。

3.根据权利要求1所述的一种教育信息咨询展示装置,其特征在于:所述插杆(4)的外宽度尺寸与凸形槽(3)的内宽度尺寸相适配,所述插杆(4)与凸形槽(3)插接。

4.根据权利要求1所述的一种教育信息咨询展示装置,其特征在于:所述连接架(5)的形状为人形,所述耐磨垫(6)的形状为球形。

5.根据权利要求1所述的一种教育信息咨询展示装置,其特征在于:所述长条密封塞(7)的形状为凸形结构,所述透明展示框(1)为“回”形,所述长条密封塞(7)与透明展示框(1)卡接。

6.根据权利要求1所述的一种教育信息咨询展示装置,其特征在于:所述通孔(9)的数量为五个,且通孔(9)呈“五点”分布在排气槽(10)的前表壁,所述通孔(9)、排气槽(10)与螺孔(11)之间共通。

7.根据权利要求1所述的一种教育信息咨询展示装置,其特征在于:所述连接管件(12)的外表壁与三通管(15)一端的外表壁均安装有调节阀,所述连接管件(12)与三通管(15)配合外部抽气泵相连接。