欢迎来到知嘟嘟! 联系电话:13336804447 卖家免费入驻,海量在线求购! 卖家免费入驻,海量在线求购!
知嘟嘟
我要发布
联系电话:13336804447
知嘟嘟经纪人
收藏
专利号: 2021205893639
申请人: 盐城星禾子科技有限公司
专利类型:实用新型
专利状态:已下证
专利领域: 医学或兽医学;卫生学
更新日期:2024-02-23
缴费截止日期: 暂无
价格&联系人
年费信息
委托购买

摘要:

权利要求书:

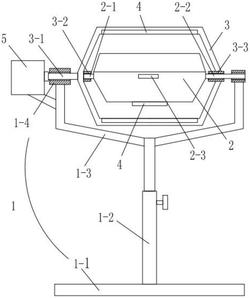
1.一种儿科黄疸照射箱,其特征在于,包括,支撑架(1)、箱体(2)和灯架(3),所述灯架(3)转动设置在所述支撑架(1)上,所述灯架(3)为环形结构,所述箱体(2)转动设置在所述灯架(3)内,所述灯架(3)上设置有蓝光照射灯(4)。

2.根据权利要求1所述的一种儿科黄疸照射箱,其特征在于,所述支撑架(1)包括,底座(1‑1),所述底座(1‑1)中部竖直设置有伸缩调节杆(1‑2),所述伸缩调节杆(1‑2)的顶部对称设置有两个支撑臂(1‑3),所述支撑臂(1‑3)的顶端横向设置有第一轴套(1‑4),所述灯架(3)的左端外侧横向设置有第一转轴(3‑1),所述第一转轴(3‑1)在所述第一轴套(1‑4)内转动,左侧所述支撑臂(1‑3)上固定设置有转动电机(5),所述转动电机(5)的输出端与所述第一转轴(3‑1)相连接,所述灯架(3)的左端内侧横向设置有第二轴套(3‑2),所述灯架(3)的右端横向贯穿设置有第三轴套(3‑3),所述箱体(2)的左右两端分别设置有第二转轴(2‑1)和第三转轴(2‑2),所述第二转轴(2‑1)在所述第二轴套(3‑2)内转动,所述第三转轴(2‑2)穿过所述第三轴套(3‑3)在右侧的所述第一轴套(1‑4)内转动。

3.根据权利要求1所述的一种儿科黄疸照射箱,其特征在于,所述箱体(2)采用透明塑料材质。

4.根据权利要求2所述的一种儿科黄疸照射箱,其特征在于,所述箱体(2)侧壁设置有把手(2‑3),且所述箱体(2)底部设置有配重块(2‑4)。

5.根据权利要求2所述的一种儿科黄疸照射箱,其特征在于,所述箱体(2)前后两侧对称设置有若干固定环(2‑5),对称设置的所述固定环(2‑5)上通过拉钩连接设置有遮光条(6)。