欢迎来到知嘟嘟! 联系电话:13336804447 卖家免费入驻,海量在线求购! 卖家免费入驻,海量在线求购!
知嘟嘟
我要发布
联系电话:13336804447
知嘟嘟经纪人
收藏
专利号: 2021202492519
申请人: 山东华祥电缆有限公司
专利类型:实用新型
专利状态:已下证
专利领域: 基本上无切削的金属机械加工;金属冲压
更新日期:2025-02-27
缴费截止日期: 暂无
价格&联系人
年费信息
委托购买

摘要:

权利要求书:

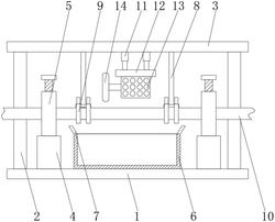
1.一种电缆切割装置,包括底板(1),其特征在于:所述底板(1)上端的两侧均连接有竖板(2),竖板(2)的上端连接有顶板(3),底板(1)上端的两侧均连接有固定座(4),固定座(4)的上端连接有稳定组件(5),稳定组件(5)的内部连接有电缆本体(10),底板(1)的上端连接有收集箱(6),顶板(3)下端的两侧均连接有安装板(8),安装板(8)的下端连接有夹紧组件(9),顶板(3)的下端连接有电动伸缩杆(11),电动伸缩杆(11)的下端连接有稳定板(12),稳定板(12)的下端连接有切割机(13),切割机(13)的输出端连接有切割轮(14)。

2.根据权利要求1所述的一种电缆切割装置,其特征在于:所述稳定组件(5)包括稳定框(51),稳定框(51)的上端连接有螺纹杆(52),螺纹杆(52)的下端连接有第一接触板(53),稳定框(51)内壁的底部连接有第二接触板(54)。

3.根据权利要求2所述的一种电缆切割装置,其特征在于:所述稳定框(51)的上端开设有螺纹孔,螺纹杆(52)位于螺纹孔内螺纹连接。

4.根据权利要求1所述的一种电缆切割装置,其特征在于:所述夹紧组件(9)包括圆杆(91),圆杆(91)的表面与安装板(8)的下端固定连接,圆杆(91)表面的两侧均连接有挤压板(93),挤压板(93)的下端连接有夹紧板(92),挤压板(93)的一侧连接有伸缩弹簧(94)。

5.根据权利要求4所述的一种电缆切割装置,其特征在于:所述夹紧板(92)的数量为两组,夹紧板(92)呈弧型结构。

6.根据权利要求1所述的一种电缆切割装置,其特征在于:所述竖板(2)的内部开设有开口,电缆本体(10)位于开口的内部。

7.根据权利要求1所述的一种电缆切割装置,其特征在于:所述收集箱(6)的上端连接有导料板(7)。