欢迎来到知嘟嘟! 联系电话:13336804447 卖家免费入驻,海量在线求购! 卖家免费入驻,海量在线求购!
知嘟嘟
我要发布
联系电话:13336804447
知嘟嘟经纪人
收藏
专利号: 2021202265182
申请人: 徐州必拓安全设备制造有限公司
专利类型:实用新型
专利状态:已下证
专利领域: 医学或兽医学;卫生学
更新日期:2024-02-23
缴费截止日期: 暂无
价格&联系人
年费信息
委托购买

摘要:

权利要求书:

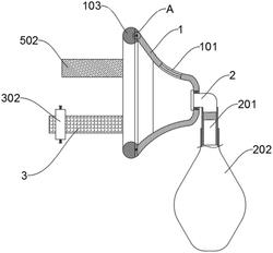
1.一种呼吸科护理用应急呼吸器,其特征在于,包括:框架(1);所述框架(1)还安装有自锁件(102);所述框架(1)后侧固定设置有自锁件(102);所述自锁件(102)后端为开口形结构,且自锁件(102)呈环形阵列固定;所述框架(1)前侧内部通过过盈配合固定设置有轴承,且轴承内部通过过盈配合固定设置有弯管(2);所述框架(1)底部外侧固定设置有软板(3);所述框架(1)底部外侧固定设置有软齿板(4),且软齿板(4)外侧固定设置有直角轮齿结构;所述框架(1)后侧顶部外侧固定设置有卡盘(5),且卡盘(5)数量设置为两组。

2.如权利要求1所述一种呼吸科护理用应急呼吸器,其特征在于:所述框架(1)还安装有呼吸孔(101)、防护套(103);框架(1)前侧顶部开设有呼吸孔(101),且呼吸孔(101)内部固定设置有过滤网装置;自锁件(102)外侧固定设置有防护套(103),且防护套(103)前侧与框架(1)后侧相贴合。

3.如权利要求1所述一种呼吸科护理用应急呼吸器,其特征在于:所述弯管(2)还安装有连接管(201)、储氧装置(202);弯管(2)底端外侧通过螺纹连接固定设置有连接管(201);

连接管(201)底端外侧固定设置有储氧装置(202)。

4.如权利要求1所述一种呼吸科护理用应急呼吸器,其特征在于:所述软板(3)还安装有支撑架(301)、滑杆(302);软板(3)外侧固定设置有支撑架(301);支撑架(301)内部滑动设置有滑杆(302),且滑杆(302)底部为直角齿结构;滑杆(302)底部直角齿结构斜边与软齿板(4)外侧直角齿斜边相贴合;滑杆(302)顶端底侧与支撑架(301)外侧之间设置有弹簧装置。

5.如权利要求1所述一种呼吸科护理用应急呼吸器,其特征在于:所述卡盘(5)还包括有卡板(501)、松紧条(502);卡盘(5)内侧开设有滑槽,且滑槽呈T形结构;卡盘(5)通过内部滑槽滑动设置有卡板(501);卡板(501)外侧通过轴杆转动设置有松紧条(502)。