欢迎来到知嘟嘟! 联系电话:13336804447 卖家免费入驻,海量在线求购! 卖家免费入驻,海量在线求购!
知嘟嘟
我要发布
联系电话:13336804447
知嘟嘟经纪人
收藏
专利号: 2021200939477
申请人: 李四虹
专利类型:实用新型
专利状态:已下证
专利领域: 无轨陆用车辆
更新日期:2024-06-13
缴费截止日期: 暂无
价格&联系人
年费信息
委托购买

摘要:

权利要求书:

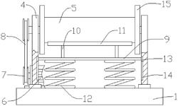
1.一种轨道交通线缆运输装置,包括车板(1),所述车板(1)的底部安装固定有多个移动车轮(2),其特征在于:所述车板(1)与多个所述移动车轮(2)共同组成移动机构(3),所述车板(1)的顶部固定连接有两个支撑板(4),两个所述支撑板(4)之间共同转动连接有收卷筒(5),所述车板(1)的顶部安装固定有伺服电机(6),所述收卷筒(5)的转动轴端部与所述伺服电机(6)的电机轴端部均固定连接有轮盘(7),两个所述轮盘(7)之间通过皮带(8)传动连接,两个所述支撑板(4)之间共同滑动连接有横板(9),所述横板(9)的顶部固定连接有两个连接杆(10),两个所述连接杆(10)上共同固定连接有弧形压紧块(11),所述横板(9)与所述车板(1)之间设置有两个弹簧(12),所弹簧(12)的一端与所述横板(9)的底部固定连接,所述弹簧(12)的另一端与所述车板(1)的顶部固定连接。

2.根据权利要求1所述的一种轨道交通线缆运输装置,其特征在于:所述横板(9)的两端均固定连接有导向块(13),所述支撑板(4)上开设有供所述导向块(13)竖直滑移的导向槽(14)。

3.根据权利要求1所述的一种轨道交通线缆运输装置,其特征在于:所述收卷筒(5)的两端均固定连接有防止线缆滑脱的限位板(15),所述限位板(15)为圆形板且与所述收卷筒(5)同圆心。

4.根据权利要求1所述的一种轨道交通线缆运输装置,其特征在于:所述车板(1)的顶部固定连接有理线板(16),所述理线板(16)上开设有供线缆滑动的腰型槽口(17),所述腰型槽口(17)的边缘处均倒有圆角。

5.根据权利要求1所述的一种轨道交通线缆运输装置,其特征在于:所述移动车轮(2)的轮体为橡胶轮体。

6.根据权利要求1所述的一种轨道交通线缆运输装置,其特征在于:所述车板(1)的顶部固定连接有两个竖直杆(18),所述竖直杆(18)上固定连接有用于推动的推把(19)。

7.根据权利要求6所述的一种轨道交通线缆运输装置,其特征在于:所述推把(19)上套设固定有防滑套(20),所述防滑套(20)为硅胶套。