欢迎来到知嘟嘟! 联系电话:13336804447 卖家免费入驻,海量在线求购! 卖家免费入驻,海量在线求购!
知嘟嘟
我要发布
联系电话:13336804447
知嘟嘟经纪人
收藏
专利号: 2021200250498
申请人: 深圳市鑫奕龙达电子有限公司
专利类型:实用新型
专利状态:已下证
专利领域: 基本电气元件
更新日期:2025-04-01
缴费截止日期: 暂无
价格&联系人
年费信息
委托购买

摘要:

权利要求书:

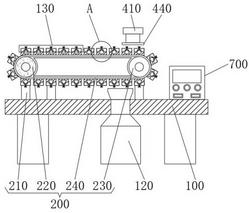
1.一种信号连接线加工用线头剥线装置,其特征在于:包括操作台(100)、输送机构(200)、装料机构(300)、支撑机构(400)、剥线机构(500)、下料机构(600)和控制装置(700),所述输送机构(200)通过螺栓固定连接在所述操作台(100)的顶部,所述装料机构(300)通过螺栓固定连接在所述输送机构(200)的外侧壁一周,所述支撑机构(400)通过螺栓固定连接在所述操作台(100)的顶部右侧,且位于所述输送机构(200)的后侧,所述剥线机构(500)位于所述支撑机构(400)的前侧,所述下料机构(600)通过螺栓固定连接在所述操作台(100)的顶部,且位于所述支撑机构(400)和所述输送机构(200)的之间,所述控制装置(700)通过螺栓固定连接在所述操作台(100)的顶部右侧,所述控制装置(700)通过电线与所述输送机构(200)、所述支撑机构(400)、所述剥线机构(500)和所述下料机构(600)电性连接。

2.根据权利要求1所述的一种信号连接线加工用线头剥线装置,其特征在于:所述操作台(100)的顶部右侧镶嵌有接料漏斗(110),所述接料漏斗(110)的底部贯穿所述操作台(100)并延伸至所述操作台(100)的底部,且固定连接有收集箱(120),所述操作台(100)的顶部左侧且位于所述输送机构(200)的后侧固定连接有限位板(130)。

3.根据权利要求1所述的一种信号连接线加工用线头剥线装置,其特征在于:所述输送机构(200)包括支撑杆(210)、驱动电机(220)、转动轴(230)和输送带(240),所述驱动电机(220)通过螺栓固定连接在两个左侧所述支撑杆(210)之间,所述转动轴(230)转动连接在右侧两个所述支撑杆(210)之间,所述输送带(240)转动了连接在所述驱动电机(220)的外侧壁和所述转动轴(230)的外侧壁之间。

4.根据权利要求1所述的一种信号连接线加工用线头剥线装置,其特征在于:所述装料机构(300)包括放料台(310)、连接杆(320)、夹块(330)和弹簧(340),所述连接杆(320)插接在所述放料台(310)的外侧壁,所述夹块(330)固定连接在所述连接杆(320)的末端,所述弹簧(340)套接在所述连接杆(320)的外侧壁且位于所述放料台(310)的外侧。

5.根据权利要求1所述的一种信号连接线加工用线头剥线装置,其特征在于:所述支撑机构(400)包括电动升降杆(410)、移动板(420)、电动伸缩杆(430)和压板(440),所述移动板(420)通过螺栓固定连接在所述电动升降杆(410)的顶端,所述移动板(420)的底部开有滑槽(421),所述电动伸缩杆(430)螺接在所述滑槽(421)的内腔后侧壁,所述压板(440)通过螺栓固定连接在所述移动板(420)的底部前侧。

6.根据权利要求1所述的一种信号连接线加工用线头剥线装置,其特征在于:所述剥线机构(500)包括安装板(510)、电动滑块(520)、连接柱(530)和剥线夹(540),所述电动滑块(520)滑动连接在所述安装板(510)的前侧壁上侧,所述连接柱(530)固定连接在所述电动滑块(520)的前侧壁,所述剥线夹(540)固定连接在所述连接柱(530)的前端。

7.根据权利要求1所述的一种信号连接线加工用线头剥线装置,其特征在于:所述下料机构(600)包括支撑板(610)、电动推杆(620)和抵触杆(630),所述电动推杆(620)螺接在所述支撑板(610)的前侧壁上侧,所述抵触杆(630)螺接在所述电动推杆(620)的前端。