欢迎来到知嘟嘟! 联系电话:13336804447 卖家免费入驻,海量在线求购! 卖家免费入驻,海量在线求购!
知嘟嘟
我要发布
联系电话:13336804447
知嘟嘟经纪人
收藏
专利号: 2021115607638
申请人: 东北电力大学
专利类型:发明专利
专利状态:已下证
专利领域: 冶金;黑色或有色金属合金;合金或有色金属的处理
更新日期:2023-12-11
缴费截止日期: 暂无
价格&联系人
年费信息
委托购买

摘要:

权利要求书:

1.一种高频脉冲电磁耦合辅助超声滚压强化加工方法,其特征是,它包括以下步骤:

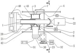
1)装夹工件:在机床装置(20)上,用三爪卡盘(21)夹紧工件(1)一端,顶尖(22)顶住工件(1)另一端,两个相同相对的电磁线圈(3)分别对准工件(1),工件(1)的轴心线与电磁线圈(3)轴心线重合,超声滚压装置(30)的压头接触工件(1),脉冲放电电极(5)对准工件(1);

2)启动机床装置:机床装置(20)运动参数:主轴转速F=45rpm,进给速度Vf=0.08mm/rev;

3)启动超声滚压装置:超声滚压装置(30)的滚压参数为:滚压力P=900N,超声频率f=

30KHz,超声振幅A=8μm;

4)启动脉冲放电电极:高频电脉冲参数为:脉冲频率H=300Hz,均方根电流密度ρr=

0.98A/mm,幅值电流密度ρa=8.62A/mm,持续时间T=87μs;

5)启动电磁线圈:脉冲磁场中心作用于工件(1)上的磁场强度为B=250mT‑5600mT;

6)启动冷却润滑系统:冷却润滑系统(40)向电磁线圈(3)的导管冷却机构(43)供给冷却液冷却电磁线圈(3),冷却润滑系统(40)向超声滚压装置(30)工作位置供给冷却润滑液对工件1进行冷却润滑,调整参数后,开始高频脉冲电磁耦合辅助超声滚压强化加工;

7)高频脉冲电磁耦合辅助超声滚压强化加工结束,关闭机床装置(20)。

2.根据权利要求1所述的一种高频脉冲电磁耦合辅助超声滚压强化加工方法所采用的高频脉冲电磁耦合辅助超声滚压强化加工装置,它包括:机床装置(20)、超声滚压装置(30)、冷却润滑系统(40),其特征是,它还包括:电磁线圈(3)、脉冲放电电极(5),在所述机床装置(20)的刀架上设置随动连接架(7),在所述随动连接架(7)上设置两个相同相对的电磁线圈(3),在所述电磁线圈(3)上设置导管冷却机构(43),所述导管冷却机构(43)与冷却润滑系统(40)连通,在所述超声滚压装置(30)的压头旁设置脉冲放电电极(5),在所述超声滚压装置(30)的压头旁设置冷却喷头(42),所述的冷却喷头(42)与冷却润滑系统(40)连通。