欢迎来到知嘟嘟! 联系电话:13336804447 卖家免费入驻,海量在线求购! 卖家免费入驻,海量在线求购!
知嘟嘟
我要发布
联系电话:13336804447
知嘟嘟经纪人
收藏
专利号: 202111485822X
申请人: 中国矿业大学
专利类型:发明专利
专利状态:已下证
专利领域: 测量;测试
更新日期:2024-01-05
缴费截止日期: 暂无
价格&联系人
年费信息
委托购买

摘要:

权利要求书:

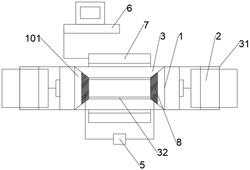
1.一种测量不同加载条件下岩心参数的装置,其特征在于,包括岩心夹持装置(1)、施压装置(2)、核磁共振发生检测模块、声波数据发生采集模块,以及内部填充有围压介质的围压腔体(3);所述岩心夹持装置(1)设置在所述围压腔体(3)的两侧,且所述岩心夹持装置(1)用于对轴向放置在所述围压腔体(3)内的岩心进行夹持;所述施压装置(2)设置在所述岩心夹持装置(1)的外侧,且所述施压装置(1)用于对所述岩心夹持装置(1)施加沿岩心轴向的压力,所述岩心夹持装置(1)压缩所述围压腔体(3)的体积使所述围压介质对岩心的表面产生围压;

所述核磁共振发生检测模块设置在所述围压腔体的周向,所述核磁共振发生检测模块用于在向所述岩心夹持装置(1)内的岩心施加磁场后获得岩心的核磁共振T2谱信号;

所述声波数据模块设置在所述岩心夹持装置(1)上,所述声波数据模块用于向所述岩心夹持装置(1)夹持的岩心产生声波,并采集所述声波在岩心中的传播信号和传播时间;

所述围压腔体(3)包括外管体(31)、以及轴向设置在所述外管体(31)内用于套装岩心的内套管(32),所述内套管(32)的外表面和所述外管体的内表面之间形成填充围压介质的介质腔体,所述岩心夹持装置(1)设置在所述内套管(32)的两端,所述岩心夹持装置(1)密封填充围压介质的所述介质腔体;

所述介质腔体包括设置在所述内套管(32)周向的偶数个扇形密封腔体(4),且所述扇形密封腔体(4)的数量大于等于四个;

所述核磁共振发生模块包括核磁磁体,所述核磁磁体与所述扇形密封腔体(4)的形状相配合,所述核磁磁体的数量为所述扇形密封腔体(4)数量的一半,且所述核磁磁体中心对称的设置在所述外管体(31)的周向上,所述核磁磁体与所述扇形密封腔体(4)的对应一致;

所述施压装置(2)通过所述岩心夹持装置(1)对所述扇形密封腔体(4)的体积进行同步或异步的压缩;

所述岩心夹持装置(1)包括主柱体(102),以及活动安装在所述主柱体(102)周向上的压块(102),所述压块(102)的数量与所述扇形密封腔体(4)的数量相同,且所述压块(102)能够沿所述主柱体(102)的轴向移动,所述主柱体(102)与所述内套管(32)的内径相同;

所述施压装置(2)用于同步或异步对所述压块(102)施加沿所述外管体(31)轴向的作用力;

所述施压装置(2)包括多个环形设置的微型液压缸。

2.根据权利要求1所述的一种测量不同加载条件下岩心参数的装置,其特征在于,所述核磁共振发生检测模块包括设置在所述外管体(31)周向上的核磁共振发生模块,以及连接所述核磁共振发生模块的核磁信号采集模块,所述核磁信号采集模块用于采集所述核磁共振发生模块对岩心施加的磁场后岩心的核磁共振T2谱信号。

3.根据权利要求2所述的一种测量不同加载条件下岩心参数的装置,其特征在于,所述声波数据模块包括声波发生模块、声波接收模块和声波采集模块,所述声波发生模块设置在所述围压腔体(3)一端的所述岩心夹持装置(1)上,所述声波接收模块设置在所述围压腔体(3)另一端的所述岩心夹持装置(1)上,所述声波采集模块通讯连接所述声波发生模块和所述声波采集模块;

所述声波发生模块用于向所述岩心发生声波信号,所述声波接收模块用于接收经过岩心传递的声波信号以及声波信号在岩心内传递的时间,所述声波采集模块用于采集分析所述声波接收模块产生的声波传递信号和声波传递时间获得声波波速的表征。

4.一种基于权利要求1所述的测量不同加载条件下岩心参数的装置的测量方法,其特征在于,包括步骤:S100、获取圆柱状的岩心,并对岩心进行加热烘干和冷却至室温的预处理,随后通过岩心饱和装置对岩心进行高压真空饱和水实验,获得完全饱和水的岩心;

S200、将完全饱和水的岩心轴向设置于填充有围压介质的围压腔体中,并通过岩心夹持装置对岩心进行夹持同时密封围压腔体;

S300、施压装置对所述岩心夹持装置施加沿岩心轴向的不同数值压力,岩心夹持装置压缩围压腔体的体积使所述围压介质对岩心的表面产生不同数值围压;后通过设置在围压腔体的周向的核磁共振发生检测模块向岩心施加磁场,获得不同数值的围压的条件下岩心的核磁共振T2谱;同时通过设置在岩心夹持装置上的声波数据采集模块向岩心产生声波,并不同数值的围压下采集声波在岩心中的传播信号特征和传播时间;

S400、通过公式计算核磁共振T2谱表现的驰豫速率和强度以及声波波速和传播时间获得不同数值的围压条件下岩心的孔隙结构变化和声波波速表征;

其中,弛豫速率与强度的表征公式为:

式中T2为核磁共振横向驰豫;ρ2为表面驰豫率;S为岩心的比表面积;V岩心的孔体积,rc为孔隙半径;

声波波速计算公式为:

V=L/t‑t0,

式中V为波速,L为声波发射探头与声波接收探头中心间距离,t为声波在岩样中传播的时间,t0为声波数据采集器的零延时。

5.根据权利要求4所述的一种测量方法,其特征在于,在S100中,选取尺寸为直径25cm,长度为5cm的柱样岩心,使用烘干箱在105℃下对岩心进行烘干处理24小时,将岩心在真空度≤‑0.095MPa的真空饱和装置下下干抽2小时,然后在20MPa压力下真空饱和24小时,使岩心达到完全饱和水的状态。

6.根据权利要求4所述的一种测量方法,其特征在于,在S300中,设定围压装置对岩心施加的不同围压数值为p1,p2,p3,p4,p5,且0