欢迎来到知嘟嘟! 联系电话:13336804447 卖家免费入驻,海量在线求购! 卖家免费入驻,海量在线求购!
知嘟嘟
我要发布
联系电话:13336804447
知嘟嘟经纪人
收藏
专利号: 2021114602410
申请人: 唐山职业技术学院
专利类型:发明专利
专利状态:已下证
专利领域: 农业;林业;畜牧业;狩猎;诱捕;捕鱼
更新日期:2025-12-10
缴费截止日期: 暂无
价格&联系人
年费信息
委托购买

摘要:

权利要求书:

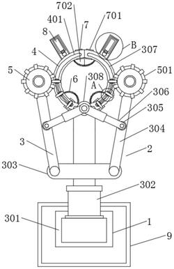
1.一种园林景观苗木移植机,其特征在于,所述园林景观苗木移植机包括:稳定座;

固定连接机构,所述固定连接机构与稳定座相连;

传动装置,所述传动装置与固定连接机构相连;

其中,固定连接机构包括:

固定环组件,所述固定环组件与稳定座相连,用于苗木根体的夹持固定;

联动轨组件,所述联动轨组件与固定环组件相连,用于配合传动装置进行联动调节;

至少两组铲接装置,所述铲接装置与固定连接机构相连,用于配合联动轨组件进行移动调节,完成对苗木土层的铲移固定。

2.根据权利要求1所述的园林景观苗木移植机,其特征在于,所述固定环组件包括:第一驱动件,所述第一驱动件与稳定座相连;

第二驱动件,所述第二驱动件与第一驱动件相连;

中置轴架,所述中置轴架设置在第二驱动件远离第一驱动件的一端;

至少两个固定环架,所述固定环架与中置轴架活动连接;

第六驱动件,所述第六驱动件与中置轴架相连,用于固定环架的旋转驱动;

齿轮件,所述齿轮件与固定环架相连,用于配合第六驱动件进行旋转驱动,从而完成两侧固定环架的开合调节。

3.根据权利要求2所述的园林景观苗木移植机,其特征在于,所述传动装置包括:至少两个固定轴架,所述固定轴架与第二驱动件相连;

连接臂,所述连接臂与固定轴架活动相连;

连接轴架,所述连接轴架与连接臂相连;

连接杆架,所述连接杆架一端与中置轴架活动连接,另一端与连接轴架一端活动连接;

连接底座,所述连接底座与连接臂远离固定轴架的一侧相连;

驱动轴,所述驱动轴与连接底座相连;

连接环座,所述连接环座与驱动轴相连;

若干个传动板,所述传动板与连接环座相连。

4.根据权利要求2所述的园林景观苗木移植机,其特征在于,所示联动轨组件包括:滑槽,所示滑槽设置在固定环架内部;

至少三个连接座,所述连接座与滑槽相连;

固定板架,所述固定板架与连接座相连,用于配合传动装置进行移动旋转;

弧形连接架,所述弧形连接架与连接座相连,用于相邻两侧连接座的移动连接。

5.根据权利要求4所述的园林景观苗木移植机,其特征在于,所述铲接装置包括:第一连接架,所述第一连接架与连接座相连;

第三驱动件,所述第三驱动件与第一连接架相连;

铲体,所述铲体与第三驱动件相连。

6.根据权利要求2所述的园林景观苗木移植机,其特征在于,所述园林景观苗木移植机还包括:

至少两组辅助铲组件,所述辅助铲组件与固定环架相连,用于配合铲接装置进行苗木外部土层固定。

7.根据权利要求6所述的园林景观苗木移植机,其特征在于,所述辅助铲组件包括:第二连接架,所述第二连接架设置在固定环架远离中置轴架的一端;

不完全铲体,所述不完全铲体与第二连接架相根据权利要求2所述的园林景观苗木移植机,其特征在于,所述园林景观苗木移植机还包括:

底座,所述底座与固定环架相连;

第四驱动件,所述第四驱动件与底座相连;

第五驱动件,所述第五驱动件与第四驱动件相连;

防滑连接块,所述防滑连接块与第五驱动件相连,用于苗木外部的支撑固定。