欢迎来到知嘟嘟! 联系电话:13336804447 卖家免费入驻,海量在线求购! 卖家免费入驻,海量在线求购!
知嘟嘟
我要发布
联系电话:13336804447
知嘟嘟经纪人
收藏
专利号: 2021113627849
申请人: 陕西佰瑞斯生物科技有限公司
专利类型:发明专利
专利状态:已下证
专利领域: 测量;测试
更新日期:2024-02-29
缴费截止日期: 暂无
价格&联系人
年费信息
委托购买

摘要:

权利要求书:

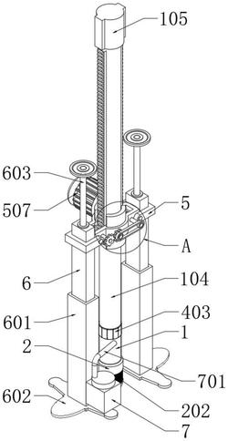
1.一种城市地下土壤检测用插入式检测仪,包括外壳(1),其特征在于:所述外壳(1)的内部滑动安装有升降块(101),且升降块(101)的底部对称状固定有探测头(102),所述外壳(1)的底部对称开设有与两个探测头(102)相对应的探出口(103),所述外壳(1)的顶部固定连接有加长杆(104),且加长杆(104)的顶部安装有气泵(105),所述外壳(1)的内部安装有设置在升降块(101)上方的气囊一(106),且气囊一(106)的顶部通过管道与气泵(105)的出气口相连通,所述外壳(1)与加长杆(104)的连接处设置有为环形结构的收纳槽(4),且收纳槽(4)的内部安装有气囊二(401),所述气囊二(401)的内部通过管道与气囊一(106)相连通。

2.根据权利要求1所述的一种城市地下土壤检测用插入式检测仪,其特征在于:所述外壳(1)的内部转动连接有设置在探测头(102)下方的封堵块(107),且封堵块(107)的内部开设有为环形结构的通槽,且通槽的内部对称状固定有与两个探测头(102)相对应的引导块(108),所述引导块(108)的顶部设置为向下倾斜结构。

3.根据权利要求1所述的一种城市地下土壤检测用插入式检测仪,其特征在于:所述外壳(1)的内部安装有与升降块(101)底部固定连接的弹簧(109),所述弹簧(109)的底端与封堵块(107)的顶部固定连接。

4.根据权利要求1所述的一种城市地下土壤检测用插入式检测仪,其特征在于:所述外壳(1)的下端外侧螺纹套接有防护套筒(2),且防护套筒(2)的底部设置为半球结构,所述防护套筒(2)的外端壁上均匀环绕开设有多个进液孔(201),且进液孔(201)的外侧套设有为网格状结构的防护网(202)。

5.根据权利要求1所述的一种城市地下土壤检测用插入式检测仪,其特征在于:每个所述探出口(103)的内端壁上均固定安装有刷环(3)。

6.根据权利要求1所述的一种城市地下土壤检测用插入式检测仪,其特征在于:所述收纳槽(4)的外侧均匀环绕设置有多个翻板(403),且翻板(403)的上端与加长杆(104)的外端壁之间转动连接,所述气囊二(401)的内侧固定安装有气囊三(402),且气囊三(402)与气囊二(401)相衔接处开设有相互连通的通孔。

7.根据权利要求1所述的一种城市地下土壤检测用插入式检测仪,其特征在于:所述加长杆(104)的外侧套设有外框架(5),且外框架(5)的左右两端底部均对称固定有内杆(6),所述内杆(6)的下端外侧套设有外套筒(601),且外套筒(601)的底部固定安装有为T字形结构的支撑板(602)。

8.根据权利要求7所述的一种城市地下土壤检测用插入式检测仪,其特征在于:所述外套筒(601)与内杆(6)之间滑动连接,所述内杆(6)的内部螺纹连接有螺杆(603),且螺杆(603)的底端转动连接在外套筒(601)的内部。

9.根据权利要求7所述的一种城市地下土壤检测用插入式检测仪,其特征在于:所述外框架(5)的外端壁上对称固定有夹持在加长杆(104)外侧的夹板(501),所述外框架(5)的左右两端内部转动连接有齿轮一(502),且齿轮一(502)的外侧啮合连接有固定焊接在加长杆(104)外端壁上的齿条(503),位于左侧的所述齿轮一(502)的旋转轴上固定安装有齿轮二(504),且齿轮二(504)的外侧啮合有转动连接在外框架(5)外端壁上的齿轮三(505),所述齿轮三(505)通过传动皮带(506)与位于右侧的齿轮一(502)传动连接,所述外框架(5)的背面固定安装有伺服电机(507),且伺服电机(507)的驱动轴与位于右侧的齿轮一(502)固定连接。

10.根据权利要求7所述的一种城市地下土壤检测用插入式检测仪,其特征在于:所述支撑板(602)的顶部固定安装有水泵(7),且水泵(7)的出水口上固定连接有为L形结构的出水管(701),所述出水管(701)的另一端贴近外壳(1)的外端壁上。