欢迎来到知嘟嘟! 联系电话:13336804447 卖家免费入驻,海量在线求购! 卖家免费入驻,海量在线求购!
知嘟嘟
我要发布
联系电话:13336804447
知嘟嘟经纪人
收藏
专利号: 2021111389649
申请人: 蓝海建设集团有限公司
专利类型:发明专利
专利状态:已下证
专利领域: 水利工程;基础;疏浚
更新日期:2025-12-24
缴费截止日期: 暂无
价格&联系人
年费信息
委托购买

摘要:

权利要求书:

1.一种湿陷性黄土地基处理方法,其特征在于:包括以下步骤:S1、平整施工场地,定点划线并依据图纸确定施工位置;

S2、利用挖掘机械对施工位置进行土方开挖,形成基坑,并对基坑的四周进行放坡处理;

S3、对于已开挖基坑的斜坡进行台阶开挖,形成多个踏步(1);

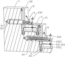
S4、在踏步(1)上安装连接机构(2),所述连接机构(2)包括水平设置于所述踏步(1)踏面上的底座(21)、滑动设置于所述底座(21)上表面的防水板(22)以及设置于所述底座(21)内的用于驱动所述防水板(22)移动的驱动组件(23),所述防水板(22)靠近未开挖区域的侧面上安装有插接管(5),所述插接管(5)内设置有定位管(6),所述定位管(6)一端穿设于所述插接管(5)内,所述定位管(6)另一端穿过所述防水板(22)并延伸至回填土方内;

S5、对基坑内底面的黄土层进行处理,提高其承载力;

S6、分层回填土方,每层回填土方均需利用夯实机械进行夯实处理,每层回填土方的高度与同层踏步(1)的踢面高度一致。

2.根据权利要求1所述的一种湿陷性黄土地基处理方法,其特征在于:所述防水板(22)远离未开挖区域的侧面上设置有辅助支撑组件(4),所述辅助支撑组件(4)包括铰接于所述底座(21)上表面的固定套筒(41)、穿设于所述固定套筒(41)内并与所述固定套筒(41)滑移配合的连接套筒(42),所述连接套筒(42)远离所述固定套筒(41)的端部与所述防水板(22)铰接,所述固定套筒(41)上设置有用于固定所述连接套筒(42)的固定件(43)。

3.根据权利要求1所述的一种湿陷性黄土地基处理方法,其特征在于:所述定位管(6)与所述插接管(5)滑移配合,所述定位管(6)内设置有金属线(63),所述金属线(63)一端与所述定位管(6)靠近未开挖区域的端部固定连接,所述金属线(63)另一端穿出所述定位管(6),所述金属线(63)远离所述定位管(6)的端部与所述底座(21)的上表面固定连接。

4.根据权利要求3所述的一种湿陷性黄土地基处理方法,其特征在于:所述插接管(5)的外周面上固定绕设有螺旋条(52),所述插接管(5)与所述防水板(22)转动连接,所述定位管(6)的外周面上沿其周向设置有多个螺旋块(61),所述插接管(5)的内侧壁上开设有用于与所述螺旋块(61)螺纹配合的螺旋槽(53),且所述防水板(22)上开设有用于与所述插接管(5)转动连接的定位孔(225),所述定位孔(225)的内侧壁上固定连接有导向块(226),所述定位管(6)上开设有用于与所述导向块(226)滑移配合的导向槽(62)。

5.根据权利要求1所述的一种湿陷性黄土地基处理方法,其特征在于:所述驱动组件(23)包括水平穿设于所述底座(21)内的双向丝杆(231)、竖直穿设于所述底座(21)内的蜗杆(232)以及固定套设于所述双向丝杆(231)上的蜗轮(233),所述蜗杆(232)与蜗轮(233)相互啮合,所述蜗杆(232)远离所述蜗轮(233)的端部固定连接有手轮(234),所述双向丝杆(231)两端均套设有用于与所述双向丝杆(231)螺纹配合的滑动板(3),所述底座(21)的上表面开设有用于与所述滑动板(3)滑移配合的滑动槽(212),靠近未开挖区域的所述滑动板(3)延伸出所述滑动槽(212)的端部与所述防水板(22)固定连接。

6.根据权利要求5所述的一种湿陷性黄土地基处理方法,其特征在于:所述底座(21)的底面上固定连接有两个限位管(211),所述踏步(1)的上表面开设有用于与所述限位管(211)插接配合的限位槽(11),所述限位管(211)内穿设有锚杆(7),所述锚杆(7)一端穿出所述限位管(211),所述锚杆(7)另一端铰接有连接杆(71),所述连接杆(71)远离所述锚杆(7)的另一端与所述滑动板(3)铰接,所述滑动板(3)与所述锚杆(7)一一对应。

7.根据权利要求6所述的一种湿陷性黄土地基处理方法,其特征在于:所述限位管(211)的内侧壁上滑动穿设有的插接块(8),所述锚杆(7)靠近所述限位管(211)的端部呈圆锥状,所述锚杆(7)与所述插接块(8)滑移配合,所述插接块(8)上固定连接有定位块(81),所述定位块(81)上固定连接有第一弹簧(82),所述第一弹簧(82)远离所述定位块(81)的一端与所述限位管(211)的内侧壁固定连接。

8.根据权利要求5所述的一种湿陷性黄土地基处理方法,其特征在于:远离未开挖区域的滑动板(3)的侧面上固定连接有卡接块(31),所述防水板(22)上开设有用于与相邻所述底座(21)上的所述卡接块(31)滑移配合的卡接槽(221),所述卡接槽(221)的内顶面上滑动穿设有固定块(222),所述卡接槽(221)的内顶面上开设有用于与所述固定块(222)滑移配合的滑槽(223),所述固定块(222)上固定连接有第二弹簧(224),所述第二弹簧(224)远离所述固定块(222)的端部与所述滑槽(223)的内端面固定连接,所述卡接块(31)与所述固定块(222)相互靠近的端部均设置有斜面,所述卡接块(31)与所述固定块(222)相互靠近的斜面相匹配,且所述卡接块(31)上开设有用于与所述固定块(222)插接配合的插接槽(311)。