欢迎来到知嘟嘟! 联系电话:13336804447 卖家免费入驻,海量在线求购! 卖家免费入驻,海量在线求购!
知嘟嘟
我要发布
联系电话:13336804447
知嘟嘟经纪人
收藏
专利号: 202111115045X
申请人: 中国地质大学(武汉)
专利类型:发明专利
专利状态:已下证
专利领域: 液力机械或液力发动机;风力、弹力或重力发动机;其他类目中不包括的产生机械动力或反推力的发动机
更新日期:2024-01-05
缴费截止日期: 暂无
价格&联系人
年费信息
委托购买

摘要:

权利要求书:

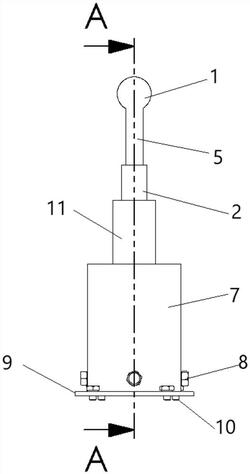
1.用于测量海洋表面波浪的自供电传感器,其特征在于,包括外壳、第一感应电极单元、第二感应电极单元、摩擦电极单元、第三感应电极单元和第四感应电极单元;

所述外壳为内部中空的圆柱体结构,其上端设有圆筒状的支撑部,所述支撑部的内部与所述外壳内部连通;

所述第一感应电极单元为圆柱体结构,其同轴设置在所述外壳内,其上端穿过所述支撑部伸出所述外壳,并可延所述支撑部的轴向滑动,所述第一感应电极单元的上端设有浮球;

所述第二感应电极单元设置在所述支撑部的内壁上,并与所述第一感应电极单元连接;

所述摩擦电极单元设置在所述第一感应电极单元的外侧;

所述第三感应电极单元为弧形结构,其设有多个,多个所述第三感应电极单元均水平设置在所述外壳内,其与所述外壳的内壁固定连接,并上下均匀间隔分布;

所述第四感应单元设置在第一感应电极单元的下端,其与所述第三感应电极之间具有间隙。

2.根据权利要求1所述的用于测量海洋表面波浪的自供电传感器,其特征在于,所述外壳下端为敞口结构,其下端设有端盖,所述端盖与所述外壳可拆卸连接。

3.根据权利要求1所述的用于测量海洋表面波浪的自供电传感器,其特征在于,所述第一感应电极单元由铝制材料制成。

4.根据权利要求1所述的用于测量海洋表面波浪的自供电传感器,其特征在于,所述第二感应电极单元为管状铝箔,其同轴设置在所述支撑部上部的内壁上。

5.根据权利要求1所述的用于测量海洋表面波浪的自供电传感器,其特征在于,摩擦电极单元为聚四氟乙烯薄膜,其包裹在所述一感应电极单元上部的外侧。

6.根据权利要求1所述的用于测量海洋表面波浪的自供电传感器,其特征在于,所述第三感应电极单元为铝箔材质制成,其设有六个,从上至下,六个所述第三感应电极单元的弧度对应为60°、120°、180°、240°、300°和360°。

7.根据权利要求1所述的用于测量海洋表面波浪的自供电传感器,其特征在于,所述第一感应电极单元的下端同轴设有圆盘,所述盘圆的外侧包裹有所述第四感应电极单元。

8.根据权利要求7所述的用于测量海洋表面波浪的自供电传感器,其特征在于,所述第四感应电极单元为聚四氟乙烯薄膜。

9.根据权利要求1所述的用于测量海洋表面波浪的自供电传感器,其特征在于,所述第四感应电极单元与每个所述第三感应电极之间的间隙为0.5㎜。