欢迎来到知嘟嘟! 联系电话:13336804447 卖家免费入驻,海量在线求购! 卖家免费入驻,海量在线求购!
知嘟嘟
我要发布
联系电话:13336804447
知嘟嘟经纪人
收藏
专利号: 2021110963706
申请人: 燕山大学
专利类型:发明专利
专利状态:已下证
专利领域: 工程元件或部件;为产生和保持机器或设备的有效运行的一般措施;一般绝热
更新日期:2024-01-05
缴费截止日期: 暂无
价格&联系人
年费信息
委托购买

摘要:

权利要求书:

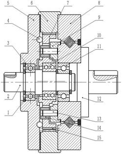
1.一种弦线针轮减速器,其特征在于,包括:壳体、输入轴(2)和输出轴(12),输入轴(2)的输入端伸出壳体一侧外部,输出端通过第一轴承连接在壳体内部,输出端上伸出壳体另一侧外部的端部通过第二轴承连接有交叉滚子轴承(8),交叉滚子轴承(8)的外圈与壳体另一侧外壁固定连接,内圈外侧与输出轴(12)固定连接;

输入轴(2)上设有位于壳体内部的偏心轴段,偏心轴段上安装有第三轴承,第三轴承上安装有同步转动的行星弦线齿轮(7),行星弦线齿轮(7)置于壳体内部的容纳腔室中,其外表面与壳体内部啮合连接;

行星弦线齿轮(7)上连接有传动机构,传动机构与交叉滚子轴承(8)的内圈内侧相连;

输入轴(2)转动,驱动偏心轴段带着行星弦线齿轮(7)绕输入轴(2)的轴线进行偏心运动,行星弦线齿轮(7)与壳体内部啮合传动,输入轴(2)转动一圈,行星弦线齿轮(7)运动一个齿,且通过传动机构驱动输出轴(12)转动,实现大传动比传动;

所述输入轴(2)的输出端由依次连接的第一轴段、第二轴段、偏心轴段和第三轴段组成,第一轴段与输入轴(2)的输入端连接,第一轴承安装在第一轴段上,第二轴承安装在第三轴段上;第一轴段、第二轴段和第三轴段同轴,且均与偏心轴段的轴线平行;

第二轴段的直径大于第一轴段和偏心轴段的直径,用于形成轴肩,对安装的第一轴承和第三轴承进行限位;

第一轴承的外侧设有第一卡簧(1),对第一轴承进行限位;

第三轴段与偏心轴段间的轴肩处设有第二卡簧,第二卡簧置于第二轴承和第三轴承之间,第二轴承的外侧设有第三卡簧,通过第二卡簧和第三卡簧对第二轴承和第三轴承进行限位。

2.根据权利要求1所述的弦线针轮减速器,其特征在于,所述壳体由左端盖(5)和中心轮(6)组成,左端盖(5)和中心轮(6)的内部构成所述容纳腔室,左端盖(5)和中心轮(6)与交叉滚子轴承(8)的外圈通过多个螺栓固定连接;

左端盖(5)位于输入轴(2)的输入端侧,其内部开有轴承孔,用于安置第一轴承;

中心轮(6)安装在左端盖(5)和交叉滚子轴承(8)之间,其内圆环表面设有多个固定针齿(15),输入轴(2)转动一圈,行星弦线齿轮(7)与固定针齿(15)啮合连接,运动一个齿;非啮合连接时,固定针齿(15)与行星弦线齿轮(7)间存在间隙。

3.根据权利要求2所述的弦线针轮减速器,其特征在于,所述左端盖(5)的内侧与行星弦线齿轮(7)之间设有间隙,间隙内安装有多个均匀分布的滚动钢球(4),其中,左端盖(5)的内侧在圆周方向上设有环形凹槽轨道,多个滚动钢球(4)置于环形凹槽轨道中,并与行星弦线齿轮(7)的外表面接触连接。

4.根据权利要求1所述的弦线针轮减速器,其特征在于,所述传动机构由多个销(13)、多个销套(14)和垫板(9)组成,行星弦线齿轮(7)的圆周方向上开设有多个第一通孔,每个第一通孔内置有一个销套(14),每个销套(14)内连接有一个销(13),第一通孔的内径大于销套(14)的外径;销套(14)在传动过程中的任意时刻均与第一通孔接触连接,同时进行轴向的滑动和径向的转动,销套(14)与第一通孔间进行滚动摩擦;

垫板(9)为圆环状结构,一侧与行星弦线齿轮(7)间留有间隙,另一侧固定在交叉滚子轴承(8)内圈上;垫板(9)在其圆周方向上开设有多个第二通孔,销(13)的一端置于销套(14)内,另一端置于第二通孔中。

5.根据权利要求4所述的弦线针轮减速器,其特征在于,所述销套(14)的外径比第一通孔内径小2倍的偏心距。

6.根据权利要求1‑3任意一项所述的弦线针轮减速器,其特征在于,所述第一轴承和第二轴承均为深沟球轴承,所述第三轴承为双列角接触球轴承(10)。

7.根据权利要求1‑5任意一项所述的弦线针轮减速器,其特征在于,所述行星弦线齿轮(7)上正弦滚道理论齿廓线的参数方程为:其中,a1为输入轴偏心轴段的偏心距,单位为mm;b1为行星弦线齿轮理论廓线半径,单位为mm;Z1为行星弦线齿轮理论齿廓曲线波动周期数; 行星弦线齿轮转角,单位为°。