欢迎来到知嘟嘟! 联系电话:13336804447 卖家免费入驻,海量在线求购! 卖家免费入驻,海量在线求购!
知嘟嘟
我要发布
联系电话:13336804447
知嘟嘟经纪人
收藏
专利号: 2021110502714
申请人: 南京富信节能科技有限公司
专利类型:发明专利
专利状态:已下证
专利领域: 水、废水、污水或污泥的处理
更新日期:2025-12-24
缴费截止日期: 暂无
价格&联系人
年费信息
委托购买

摘要:

权利要求书:

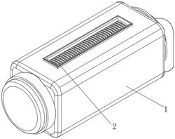
1.一种水域漂浮曝气装置,包括曝气机主壳体(1),其特征在于:所述曝气机主壳体(1),所述曝气机主壳体(1)的内侧安装有用于二次过滤水流的内罩筒(2),所述内罩筒(2)的安装有用于缓冲水流的套芯筒(3),所述套芯筒(3)与内罩筒(2)之间两端分别套设有一组轴承(31),所述套芯筒(3)的内侧安装有用于输送水流的水饮机构(4),所述内罩筒(2)表面开设的水浴组孔(21)内侧安装有用于切割水流中气泡的锯齿组片(2113),所述锯齿组片(2113)的一侧设置有用于防止水浴组孔(21)堵塞的扒勾(2115),所述水饮机构(4)包括用于加速水流速度的弹塑胶管(423),所述弹塑胶管(423)的一侧设置有用于环绕切割气泡的侧刀板(413);

所述内罩筒(2)包括用于将水流喷射至空气中的水浴组孔(21),四组所述水浴组孔(21)于内罩筒(2)的表面贯穿开设,且四组水浴组孔(21)的截面形状均不相同,每组所述水浴组孔(21)的内侧均安装有用于控制出水形状和流速的控水组件(211),所述水浴组孔(21)的内侧两边对称固设有若干凸体(212),所述控水组件(211)的下侧连接有张拉弹簧(213),所述张拉弹簧(213)的另一端与凸体(212)固定连接;

所述控水组件(211)包括用于活动铰连接在水浴组孔(21)内侧的铰接杆(2111),所述铰接杆(2111)上固设有活动扇板(2112),若干所述锯齿组片(2113)于活动扇板(2112)底部并排设置,所述锯齿组片(2113)的一侧贯穿开设有栓孔(2114),所述活动扇板(2112)的两侧对称设置有两组扒勾(2115);

所述活动扇板(2112)通过锯齿组片(2113)上开设的栓孔(2114)配合张拉弹簧(213)与水浴组孔(21)弹动安装,所述活动扇板(2112)通过扒勾(2115)与水浴组孔(21)相吻合,所述活动扇板(2112)通过铰接杆(2111)与水浴组孔(21)旋转设置。

2.根据权利要求1所述的一种水域漂浮曝气装置,其特征在于:所述水饮机构(4)包括用于切割气泡的切水组件(41),所述切水组件(41)的后侧设置有加速组件(42),所述加速组件(42)的后侧连接有压缩泵(43),所述压缩泵(43)的后侧连接有用于对水流二次过滤的闭水斗(44),所述切水组件(41)通过加速组件(42)与压缩泵(43)连通设置。

3.根据权利要求2所述的一种水域漂浮曝气装置,其特征在于:所述切水组件(41)包括用于改变水流喷射方位的喷水斗(411),所述喷水斗(411)的前侧边缘位置呈圆形阵列布设有若干引流支杆(412),所述引流支杆(412)的表面对称固设有侧刀板(413),所述引流支杆(412)的一端贯穿喷水斗(411)与其内腔连通设置。

4.根据权利要求3所述的一种水域漂浮曝气装置,其特征在于:所述加速组件(42)包括用于输送水流的筒缸(421),所述筒缸(421)的前端边缘位置固设有若干杆架(422),所述筒缸(421)的前端中部经由杆架(422)连接有底扣板(424),所述弹塑胶管(423)的一端与筒缸(421)的前端中部相连接,所述弹塑胶管(423)的另一端与转接管(425)连通设置。