欢迎来到知嘟嘟! 联系电话:13336804447 卖家免费入驻,海量在线求购! 卖家免费入驻,海量在线求购!
知嘟嘟
我要发布
联系电话:13336804447
知嘟嘟经纪人
收藏
专利号: 2021110089736
申请人: 重庆琨晟食品有限公司
专利类型:发明专利
专利状态:已下证
专利领域: 测量;测试
更新日期:2024-02-23
缴费截止日期: 暂无
价格&联系人
年费信息
委托购买

摘要:

权利要求书:

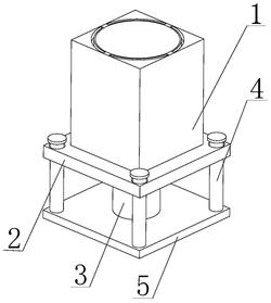
1.一种食品检测装置用的检测食品放置器,包括食品放置机构(1)、卡座(2)、升降杆(3)、立柱(4)和底座(5),所述食品放置机构(1)的底部与卡座(2)的顶部卡接,所述卡座(2)的底部与升降杆(3)的顶部固定连接,所述立柱(4)的底部与底座(5)的顶部固定连接,所述立柱(4)的外壁贯穿于卡座(2)的内壁,其特征在于:所述食品放置机构(1)的内壁设置有承载座(6)、气压变化腔(7)、气体传导管(8)、贴合装置(9)和防滑装置(10),所述承载座(6)的顶部与防滑装置(10)的底部固定连接,所述承载座(6)的外壁与气压变化腔(7)的外壁搭接,所述贴合装置(9)的外壁与食品放置机构(1)的内壁搭接;所述贴合装置(9)包括密封板(11)、吸盘(12)、连接件(13)和弹性卡件放置腔(14),所述密封板(11)的底部与连接件(13)的顶部固定连接,所述连接件(13)的底部与弹性卡件放置腔(14)的内壁滑动连接,所述吸盘(12)的底部与贴合装置(9)的顶部固定连接,所述弹性卡件放置腔(14)的底部与贴合装置(9)的顶部固定连接;所述承载座(6)的底部固定连接有弧形卡件(15),所述弧形卡件(15)的外壁与空心块(19)的内壁滑动连接,所述空心块(19)的内壁固定安装有磁性保护装置(23),所述磁性保护装置(23)的底部与空心块(19)的内壁底部固定连接,所述磁性保护装置(23)的顶部与弧形卡件(15)的底部相契合,所述空心块(19)的内壁开设有气体传导腔(21),且气体传导腔(21)位于空心块(19)的内壁两侧开设,所述弧形卡件(15)的两侧设置有凹型板(20),所述凹型板(20)的外壁与空心块(19)的内壁固定连接,所述凹型板(20)的一侧与弧形卡件(15)的外壁滑动连接;所述承载座(6)的一侧设置有嵌入块(16)、容纳腔(17)和传递管(18),所述嵌入块(16)的外壁与容纳腔(17)的内壁滑动连接,所述容纳腔(17)的内壁与传递管(18)的外壁嵌入连接,所述嵌入块(16)的左侧与承载座(6)的右侧滑动连接;所述传递管(18)的左侧与气体传导腔(21)的内壁贯通连接,所述传递管(18)的下方设置有分压管(22),所述分压管(22)的外壁与气体传导腔(21)的内壁贯通连接;所述磁性保护装置(23)包括磁极块(24)、韧性带(25)、气压囊(26)、连接软管(27)和导流腔(28),所述磁极块(24)的底部与磁性保护装置(23)的顶部固定连接,所述韧性带(25)的两侧与磁性保护装置(23)的内壁固定连接,所述气压囊(26)的顶部与韧性带(25)的底部搭接,且气压囊(26)的两侧与磁性保护装置(23)的内壁固定连接,所述导流腔(28)的外壁与磁性保护装置(23)的内壁固定连接;所述连接软管(27)的顶部与气压囊(26)的底部贯通连接,所述连接软管(27)的底部导流腔(28)的内壁贯通连接,所述连接软管(27)和导流腔(28)分别位于磁性保护装置(23)的内壁两侧设置。

2.根据权利要求1所述的一种食品检测装置用的检测食品放置器,其特征在于:所述防滑装置(10)包括转动角件(29)和摩擦垫(30),所述转动角件(29)的底部防滑装置(10)的顶部固定连接,所述摩擦垫(30)的底部转动角件(29)的顶部固定连接。