欢迎来到知嘟嘟! 联系电话:13095918853 卖家免费入驻,海量在线求购! 卖家免费入驻,海量在线求购!
知嘟嘟
我要发布
联系电话:13095918853
知嘟嘟经纪人
收藏
专利号: 2021109376956
申请人: 潍坊亚峰化工仪表有限公司
专利类型:发明专利
专利状态:已下证
专利领域: 测量;测试
更新日期:2024-02-23
缴费截止日期: 暂无
价格&联系人
年费信息
委托购买

摘要:

权利要求书:

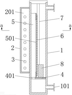
1.一种检测精度高的磁翻板液位计,包括管体(1),管体(1)侧面的顶部和底部均设有进液管(101),管体(1)远离进液管(101)的一侧设有指示管(2),指示管(2)内设有磁翻板(3),其特征在于:所述管体(1)的形状为矩形管,且管体(1)内腔的底部设有位于进液管(101)上方的封隔板(4),所述封隔板(4)的顶部设有位于指示管(2)一侧的导流管(5),所述封隔板(4)上开设有位于导流管(5)内侧的通槽(401),所述导流管(5)远离指示管(2)的一侧开设有导流槽(501),所述导流管(5)上设有覆盖导流槽(501)的滤网(6),所述封隔板(4)的顶部设有可纵向移动浮块(8),所述浮块(8)朝向导流管(5)的一侧开设有凹槽,且凹槽与导流管(5)活动套接,所述浮块(8)朝向指示管(2)的一侧设有磁块(801)。

2.根据权利要求1所述的一种检测精度高的磁翻板液位计,其特征在于:所述封隔板(4)的顶部固定连接有两个限位轴(7),两个限位轴(7)位于导流管(5)的一侧,且两个限位轴(7)延伸至导流管(5)顶端的上方,两个所述限位轴(7)与浮块(8)活动套接,且两个限位轴(7)与浮块(8)之间的套接触预留有一定间隙。

3.根据权利要求1所述的一种检测精度高的磁翻板液位计,其特征在于:所述磁块(801)的数量为两个,两个所述磁块(801)分别位于导流管(5)的两侧,指示管(2)的内腔固定套装有中间隔板(201),中间隔板(201)位于指示管(2)内腔的中部,且中间隔板(201)正面和背面的一侧均设有纵向等距排列的磁翻板(3),通过中间隔板(201)两侧均设置磁翻板(3),对应浮块(8)两侧的磁块(801)。

4.根据权利要求1所述的一种检测精度高的磁翻板液位计,其特征在于:所述导流槽(501)的槽宽值小于封隔板(4)的槽宽值,且导流槽(501)的槽宽值小于进液管(101)的内径值,进液管(101)的内径值小于通槽(401)的槽宽值。