欢迎来到知嘟嘟! 联系电话:13095918853 卖家免费入驻,海量在线求购! 卖家免费入驻,海量在线求购!
知嘟嘟
我要发布
联系电话:13095918853
知嘟嘟经纪人
收藏
专利号: 2021108480670
申请人: 常州大学
专利类型:发明专利
专利状态:已下证
专利领域: 工程元件或部件;为产生和保持机器或设备的有效运行的一般措施;一般绝热
更新日期:2025-10-18
缴费截止日期: 暂无
价格&联系人
年费信息
委托购买

摘要:

权利要求书:

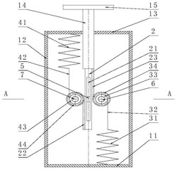
1.一种阻尼力正比于振动位移的金属隔振器,包括外壳(12),分别装设于所述外壳(12)上、下两端的底板(11)和上盖(13),穿过所述上盖(13)自由升降的升降柱(14),固定装设在所述升降柱(14)上端的隔振平台(15);其特征在于:所述升降柱(14)的下端固定装设有双侧错位分段齿条(2),所述双侧错位分段齿条(2)左右两侧沿水平方向对称装设有的上行转轴(7)和下行转轴(6),所述上行转轴(7)上固定装设有上行齿轮(44)和上行绕线轮(43),所述下行转轴(6)上固定装设有下行齿轮(34)和下行绕线轮(33),所述底板(11)上装设有下行螺旋弹簧(31),所述上盖(13)上装设有上行螺旋弹簧(41);

所述双侧分段齿条(2)的左侧下段设有与所述上行齿轮(44)啮合传动的上行齿(22),右侧上段设有与所述下行齿轮(34)啮合传动的下行齿(23),中部设有滑槽(21),所述滑槽(21)中滑动装设有横截面尺寸与滑槽(21)相配合的矩形导向杆(5);

所述矩形导向杆(5)沿水平方向装置,其两端与所述外壳(12)的前后两个侧面固定相连,所述下行转轴(6)和所述上行转轴(7)平行于所述矩形导向杆(5),两端转动装设在所述外壳(12)上;

所述上行螺旋弹簧(41)的上端与所述上盖(13)相连,下端与所述上行牵引绳(42)的一端相连,所述上行牵引绳(42)的另一端缠绕在所述上行绕线轮(43)上;所述下行螺旋弹簧(31)的下端与所述底板(11)相连,上端与所述下行牵引绳(32)的一端相连,所述下行牵引绳(32)的另一端缠绕在所述下行绕线轮(33)上;

结构相同、旋向相反的下行锥形弹簧A(61)和下行锥形弹簧B(62)分别套装在所述下行转轴(6)的两端,弹簧大直径端与所述外壳(12)相连,小直径端自由且其内径等于下行转轴(6)的外径;结构相同、旋向相反的上行锥形弹簧A(71)和上行锥形弹簧B(72)套装在所述上行转轴(7)的两端,弹簧大直径端与所述外壳(12)相连,小直径端自由且其内径等于上行转轴(7)的外径;

当被隔振仪器安装在隔振平台(15)上时,双侧错位分段齿条(2)恰好位于平衡位置处,所述双侧错位分段齿条(2)向下远离平衡位置运动时,所述下行锥形螺旋弹簧A(61)和所述下行锥形弹簧B(62)的内径逐渐减小,所述上行锥形弹簧A(71)和上行锥形弹簧B(72)的内径不变;所述双侧错位分段齿条(2)向上远离平衡位置运动时,所述上行锥形弹簧A(71)和上行锥形弹簧B(72)的内径逐渐减小,下行锥形螺旋弹簧A(61)和所述下行锥形弹簧B(62)的内径不变。