欢迎来到知嘟嘟! 联系电话:13336804447 卖家免费入驻,海量在线求购! 卖家免费入驻,海量在线求购!
知嘟嘟
我要发布
联系电话:13336804447
知嘟嘟经纪人
收藏
专利号: 2021108152036
申请人: 燕山大学
专利类型:发明专利
专利状态:已下证
专利领域: 液体变容式机械;液体泵或弹性流体泵
更新日期:2024-02-28
缴费截止日期: 暂无
价格&联系人
年费信息
委托购买

摘要:

权利要求书:

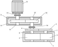
1.一种非圆齿轮驱动的低脉动凸轮泵,其特征在于:其包括相互作用的一对凸轮转子、一对相互啮合的主动同步齿轮和从动同步齿轮、凸轮泵主动轴、凸轮泵从动轴、一电动机、一对高阶傅里叶非圆齿轮副、一主动非圆齿轮轴和一从动非圆齿轮轴;

所述一对凸轮转子分别套设在所述凸轮泵主动轴和所述凸轮泵从动轴上;所述主动同步齿轮套设在所述凸轮泵主动轴上,所述从动同步齿轮套设在所述凸轮泵从动轴上;

所述一对高阶傅里叶非圆齿轮副包括相互啮合的主动非圆齿轮和从动非圆齿轮;所述主动非圆齿轮套设在所述主动非圆齿轮轴上,且所述主动非圆齿轮轴通过第一联轴器与所述电动机的输出轴相连;

所述从动非圆齿轮套设在所述从动非圆齿轮轴上,所述从动非圆齿轮轴通过第二联轴器与所述凸轮泵主动轴相连;

所述主动非圆齿轮和所述从动非圆齿轮传动比函数为:式中, 为从动非圆齿轮的转角;n1为主动非圆齿轮的阶数,n2为从动非圆齿轮的阶数,且n1=n2=2*Z3=2*Z4,Z3、Z4为两个凸轮转子的叶数,n1和n2为正整数;K为傅里叶级数的项数,取正整数;an,bn分别为傅里叶级数展开式的系数。

2.根据权利要求1所述的非圆齿轮驱动的低脉动凸轮泵,其特征在于:所述傅里叶级数展开式系数an,bn的确定方法为:S1、确定凸轮泵的啮合曲线为:式中,xf和yf分别为啮合曲线的横坐标和纵坐标,a为一对凸轮转子中心距的一半值;b为凸轮转子叶峰圆心至转子中心距离;q为叶峰齿顶角的一半值,q=π/(2*Z3);r为凸轮转子叶峰半径;φ为凸轮转子转角;θ为凸轮转子叶峰圆转角,且S2、确定凸轮泵的瞬时流量为:式中,ω3为凸轮泵主动轴的转速;B为凸轮转子宽度;Rm为凸轮转子叶顶圆半径,Rm=b+r;

S3、确定非圆齿轮副的理想传动比为:S4、确定非圆齿轮传动比函数系数为:式中, 为凸轮泵主动轴转角,

3.根据权利要求2所述的非圆齿轮驱动的低脉动凸轮泵,其特征在于:所述傅里叶级数项数K的取值范围为[1,4]。

4.根据权利要求3所述的非圆齿轮驱动的低脉动凸轮泵,其特征在于:所述一对凸轮转子的叶数Z3=Z4=2或3。

5.根据权利要求4所述的非圆齿轮驱动的低脉动凸轮泵,其特征在于:当凸轮转子叶数Z3=Z4=2,所述主动非圆齿轮和从动非圆齿轮的节曲线阶数为4阶;当凸轮转子叶数Z3=Z4=3,所述主动非圆齿轮和从动非圆齿轮的节曲线阶数为6阶。