欢迎来到知嘟嘟! 联系电话:13336804447 卖家免费入驻,海量在线求购! 卖家免费入驻,海量在线求购!
知嘟嘟
我要发布
联系电话:13336804447
知嘟嘟经纪人
收藏
专利号: 2021107967364
申请人: 淮阴工学院
专利类型:发明专利
专利状态:已下证
专利领域: 计算;推算;计数
更新日期:2025-03-25
缴费截止日期: 暂无
价格&联系人
年费信息
委托购买

摘要:

权利要求书:

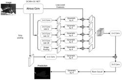
1.一种基于条带池化的图像语义分割方法,其特征在于,包括如下步骤:步骤1:提取图像分割训练数据集的图像特征;

步骤2:将图像特征输入深度空洞卷积模块,并通过紧缩激励模块压缩无用信息得到紧密特征图和底层特征图;

步骤3:将紧密特征图进行金字塔编码得到五个特征图,然后将这五个特征图分别解码,并与底层特征图进行融合,将融合后的五个特征图拼接为一个融合特征图;

步骤4:将底层特征图条带池化编码,提取高级特征后,解码得到一个池化后的特征图;

步骤5:将池化后的特征图和融合特征图进行加法融合,再经非局部模块降噪,解码后得到图像分割输出;

步骤6:输入数据集进行训练,将结果保存为SD‑NET模型,将图片输入到SD‑NET模型得到分割结果。

2.根据权利要求1所述的基于条带池化的图像语义分割方法,其特征在于,所述步骤2中的获取底层特征图具体操作为:对图像特征进行深度卷积,然后使用紧缩激励模块分配各个通道权重,得到输出,并进行进一步最大池化,缩小特征图大小,得到底层特征图,具体公式如下:

其中,w(k,l)为卷积核,h(k,l)为输入的向量,y(k,l)为输出的图像张量,se为紧缩激励层,l为输入的参数,m、n、p均为求和时用到的参数。

3.根据权利要求2所述的基于条带池化的图像语义分割方法,其特征在于,所述步骤2中的获取紧密特征图的具体操作为:对底层特征图进行多层膨胀卷积提取出网络特征。

4.根据权利要求3所述的基于条带池化的图像语义分割方法,其特征在于,对底层特征图进行四层膨胀卷积提取出网络特征,所述四层膨胀卷积分别如下设置:将第一层膨胀卷积层的膨胀系数设置为1,膨胀步长设置为1,残差块数设置为3;

将第二层膨胀卷积层的膨胀系数设置为1,膨胀步长设置为2,残差块数设置为4;

将第三层膨胀卷积层的膨胀系数设置为1,膨胀步长设置为2,残差块数设置为23;

将第四层膨胀卷积层的膨胀系数设置为2,膨胀步长设置为1,残差块数设置为3;

每一层具体公式如下:

k(m,l)=m(l‑1)+1

output=layer(input,k(m,l),s)其中,m为膨胀系数,l为卷积核大小,k(m,l)为膨胀后的卷积核大小,input为该层的输入,s为步长,output为输出。

5.根据权利要求1所述的基于条带池化的图像语义分割方法,其特征在于,所述步骤3中获取融合特征图的具体步骤为:

步骤3.1)对紧密特征图进行金字塔卷积和全局池化来得到更多样的特征图,将金字塔卷积结果与全局池化结果组合成为卷积特征图集;

步骤3.2)将卷积特征图集的每一个特征图进行上采样并与步骤2中的底层特征图进行相加融合,构成五个上采样特征图集合;

步骤3.3)将五个上采样特征图集合中的元素做拼接融合后进行1×1卷积,调整通道后得到融合特征图。

6.根据权利要求5所述的基于条带池化的图像语义分割方法,其特征在于,所述步骤

3.1)中的对紧密特征图进行金字塔卷积和全局池化来得到更多样的特征图的具体步骤为:

1)将提取出的网络特征输入到4个独立的金字塔卷积层,得到输出卷积特征图map1,map2,map3和map4;

2)将提取出的网络特征输入全局池化层,得到输出map5;

3)map1,map2,map3,map5和map4组合成为卷积特征图集。