欢迎来到知嘟嘟! 联系电话:13095918853 卖家免费入驻,海量在线求购! 卖家免费入驻,海量在线求购!
知嘟嘟
我要发布
联系电话:13095918853
知嘟嘟经纪人
收藏
专利号: 2021106240422
申请人: 重庆邮电大学
专利类型:发明专利
专利状态:已下证
专利领域: 计算;推算;计数
更新日期:2024-02-23
缴费截止日期: 暂无
价格&联系人
年费信息
委托购买

摘要:

权利要求书:

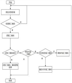
1.一种嵌套引导二维码的编码解码方法,其特征在于:包括以下步骤:S1:构建嵌套二维码:采用AprilTag作为嵌套二维码基础码,将两个或多个不同尺寸的二维码图标进行嵌套,确保在识别距离动态改变过程中至少有一个二维码可被识别;

S2:部署嵌套二维码;

S3:对嵌套二维码进行解码:识别装置移动到能够识别外层编码的区域,基于识别到的信息,调整识别装置的位置和姿态,并向嵌套二维码移动,直到解码过程结束。

2.根据权利要求1所述的嵌套引导二维码的编码解码方法,其特征在于:步骤S1中,具体包括以下步骤:

S11:据识别装置的识别精度,识别装置的视野范围,以及工作环境的识别距离,确定外层二维码的尺寸;

S12:编码生成多层AprilTag二维码,所述AprilTag二维码的外围区域为用于边缘检测求取二维码标志的四个顶点坐标的黑色格子,内部区域则包含ID信息,作为有效的二维码编码,中心区域设为嵌套区域,所述嵌套区域为白色;

S13:将内层二维码嵌套在外层二维码的嵌套区域中,内层二维码的面积的四分之一小于外层二维码中每个白色格子区域的一半。

3.根据权利要求1所述的嵌套引导二维码的编码解码方法,其特征在于:步骤S2中,具体包括以下步骤:

S21:对识别装置进行标定,矫正畸变,求解识别装置坐标系标系与世界坐标系之间的转换关系;

S22:确定嵌套二维码ID,根据二维码唯一ID从AprilTag家族中寻找对应二维码,发送给生成器,生成并打印出嵌套二维码;

S23:将嵌套二维码垂直平整张贴在所编码信息对应的地点。

4.根据权利要求1所述的嵌套引导二维码的编码解码方法,其特征在于:步骤S3中,具体包括以下步骤:

S31:第一阶段,识别装置处于目标点远处,视野下只能识别外层二维码;

S32:第二阶段,识别装置靠近嵌套二维码过程中,视野下能识别两层二维码,使用加权融合的方法,融合两层二维码的信息;

S33:第三阶段,识别装置处于目标点近处,视野下只能识别内层二维码;

S34:第四阶段,识别装置到达目标点,识别装置解码给出结束信息提示。

5.根据权利要求4所述的嵌套引导二维码的编码解码方法,其特征在于:在步骤S32中所述的第二阶段,内外层二维码的观察值相互独立,采用无偏估计,通过使估计的均方误差最小从而获取各个二维码定位信息测量值的权值,使用加权融合方法,采用误差补偿和数据平滑处理,针对识别的靠近阶段,融合外层和内层二维码的定位数据。

6.根据权利要求4所述的嵌套引导二维码的编码解码方法,其特征在于:所述误差补偿为:使用回归分析研究识别装置与二维码的位置信息跟两者距离之间的关系,得到求解用于误差补偿。

7.根据权利要求5所述的嵌套引导二维码的编码解码方法,其特征在于:所述数据平滑处理为使用中值滤波器,将融合后的位姿信息进行滤波平滑处理。