欢迎来到知嘟嘟! 联系电话:13336804447 卖家免费入驻,海量在线求购! 卖家免费入驻,海量在线求购!
知嘟嘟
我要发布
联系电话:13336804447
知嘟嘟经纪人
收藏
专利号: 2021106020649
申请人: 涿州市烽合机械设备有限公司
专利类型:发明专利
专利状态:已下证
专利领域: 工程元件或部件;为产生和保持机器或设备的有效运行的一般措施;一般绝热
更新日期:2024-02-27
缴费截止日期: 暂无
价格&联系人
年费信息
委托购买

摘要:

权利要求书:

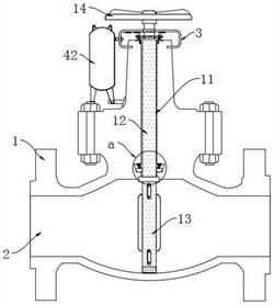
1.一种具有泄露氢气去除功能的氢气阀门,包括阀体(1),其特征在于,所述阀体(1)与氢气运输管道(2)连通,所述阀体(1)内开设有阀道(11),所述阀道(11)内设置有阀杆(12),所述阀道(11)与所述氢气运输管道(2)连通,所述阀道(11)一端置入所述氢气运输管道(2)中,且固定连接有阀板(13),所述阀道(11)靠近所述氢气运输管道(2)处内壁开设有圆饼形开槽(111),所述圆饼形开槽(111)内设置有感应圈(112),所述圆饼形开槽(111)顶壁内镶嵌有压力感应器(113),所述感应圈(112)与感应弹簧(114)固定连接,所述感应弹簧(114)远离所述感应圈(112)的一端与所述压力感应器(113)上的压力感应板固定连接,所述阀杆(12)远离所述氢气运输管道(2)的一端穿出所述阀道(11)与手轮(14)固定连接,所述阀杆(12)脱出所述阀道(11)连接处设置有去除壳体(3),所述去除壳体(3)内设置有密封板(31),所述密封板(31)两侧底部镶有第一磁石(316),对应的,所述阀体(1)端面处镶有第二磁石(317),所述第二磁石(317)表面套有通电线圈,所述第二磁石(317)表面的通电线圈与所述压力感应器(113)电性连接,所述压力感应器(113)控制所述第二磁石(317)的通电,所述去除壳体(3)顶壁设置有监测元件(32)、处理元件(33)和启动元件(34),所述监测元件(32)为高灵敏度的氢气传感器,氢气传感器包括检测探头,检测探头采用对氢气极为敏感的材料制成,氢气传感器能够将监测结果生成电压信号,所述监测元件(32)与所述处理元件(33)电性连接,所述处理元件(33)用于分析并判断所述去除壳体(3)内泄露积累的氢气当量是否大于或者等于氢气当量阈值,所述处理元件(33)为电脑等芯片类处理元件,在所述处理元件(33)内设置有分析判断所述去除壳体(3)内的氢气当量是否大于或者等于氢气当量阈值的判断程序,所述处理元件(33)还包含继电器和变压器的电器结构,继电器接收来自氢气传感器的电压信号,闭合低压电路,变压器将低电压转变为高电压提供至所述启动元件(34),所述启动元件(34)与所述处理元件(33)电性连接;所述阀板(13)呈圆饼形设计,所述阀板(13)板面直径与所述氢气运输管道(2)截面直径相当,所述阀道(11)与所述氢气运输管道(2)连接处胶合有一层密封垫提升密封性;所述感应圈(112)设置为圆环形,且所述感应圈(112)外周和内周侧均设计为弧面状,所述圆饼形开槽(111)内壁处设计为斜面形;所述去除壳体(3)顶部与所述阀杆(12)通过密封轴承机构转动连接,所述去除壳体(3)底部与所述阀体(1)两侧固定密封连接,所述密封板(31)通过密封轴承机构转动套在所述阀杆(12)上,所述密封板(31)底部固定连接有稳定杆(311);所述阀体(1)端面开设有滑动通道(312),所述稳定杆(311)滑动连接在所述滑动通道(312)内,所述滑动通道(312)内壁转动连接有若干滑动滚轮(313),所述滑动滚轮(313)与所述稳定杆(311)表面滑动连接;所述密封板(31)底部开设有弹性开槽(314),所述弹性开槽(314)顶壁固定连接有复位弹簧(315),所述复位弹簧(315)远离所述弹性开槽(314)的一端与所述阀体(1)端面固定连接;

所述弹性开槽(314)开设深度大于所述密封板(31)的平均厚度,以便所述密封板(31)贴合密封时所述复位弹簧(315)有一定空间进行收纳。

2.根据权利要求1所述的一种具有泄露氢气去除功能的氢气阀门,其特征在于,所述处理元件(33)分析判断所述去除壳体(3)内的氢气超过阈值后,所述启动元件(34)被触发,所述启动元件(34)为电性开关结构,所述启动元件(34)与抽气管道(4)内的气泵(41)电性连接,所述抽气管道(4)与储气罐(42)连通。