欢迎来到知嘟嘟! 联系电话:13336804447 卖家免费入驻,海量在线求购! 卖家免费入驻,海量在线求购!
知嘟嘟
我要发布
联系电话:13336804447
知嘟嘟经纪人
收藏
专利号: 2021105880173
申请人: 西安建筑科技大学
专利类型:发明专利
专利状态:已下证
专利领域: 计算;推算;计数
更新日期:2024-01-05
缴费截止日期: 暂无
价格&联系人
年费信息
委托购买

摘要:

权利要求书:

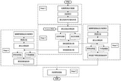
1.一种海底管道风险评估方法,其特征在于,包括以下步骤:辨识待评估海底油气管道失效风险因素,构建风险评价指标分层模型;其中,风险评价指标分层模型包括若干准则层,每个准则层包括若干指标层;

对待评估海底油气管道进行管段递进划分,得到管段划分结果;

利用CRITIC方法,计算准则层的评价指标客观权重及指标层的评价指标客观权重;

基于管段划分结果及指标层的评价指标客观权重,采用VIKOR方法,计算不同准则层下各管段利益比率值并按由大到小的顺序进行排序,得到不同准则层下各管段风险管控重要度排序结果;

基于管段划分结果及准则层的评价指标客观权重,采用VIKOR方法,计算分层模型下各管段利益比率值并按由大到小的顺序进行排序,得到分层模型下各管段风险管控重要度排序结果;

根据不同准则层下各管段风险管控重要度排序结果和分层模型下各管段风险管控重要度排序结果,得到所述的海底管道风险评估结果。

2.根据权利要求1所述的一种海底管道风险评估方法,其特征在于,准则层包括腐蚀、结构失效、第三方破坏、自然灾害及自由悬跨/疲劳;其中,腐蚀的指标层包括内腐蚀、外腐蚀及腐蚀防护层;结构失效的指标层包括设计因素、施工因素、操作因素、维护因素和结构退化因素;第三方破坏的指标层包括第三方活动、保护措施、管道路由、巡线检查频率、公众教育和管道安全法规;自然灾害的指标层包括海地地震、海底滑坡和台风;自由悬跨/疲劳的指标层包括置埋深度、土壤环境类型、波流和管控措施。

3.根据权利要求1所述的一种海底管道风险评估方法,其特征在于,对待评估海底油气管道进行管道分段递进划分,得到管段划分结果的过程,具体为:获取待评估海底油气管道的工艺参数信息及运行信息;

以管道关键属性数据为管道区段划分标准,依据空间属性及递进细分原则,对待评估海底油气管道进行管道分段递进划分;其中,管道关键属性数据包括海底油气管道的水深深度、覆土深度及截断阀信息。

4.根据权利要求3所述的一种海底管道风险评估方法,其特征在于,依据空间属性及递进细分原则,对待评估海底油气管道进行管段递进划分的过程,具体如下:按照待评估海底油气管道的水深变化,进行管段划分,得到水深管段划分结果;

基于水深管道划分结果,按照管道覆土深度再次进行管段划分,得到覆土深度管段划分结果;

基于覆土深度管段划分结果,按照截断阀的不同再次进行管段划分,得到所述的管段划分结果。

5.根据权利要求1所述的一种海底管道风险评估方法,其特征在于,利用CRITIC方法,计算准则层的评价指标客观权重及指标层的评价指标客观权重的过程,具体如下:利用专家打分法对每个准则层下的各个指标层进行专家打分,确定初始决策矩阵X;

*

对初始决策矩阵X进行归一化处理,得到标准化矩阵X;

*

计算各指标层的变异系数,并利用标准化矩阵X计算各指标层的独立性系数;

根据各指标层的变异系数及独立性系数,分别得到准则层的评价指标客观权重及指标层的评价指标客观权重。

6.根据权利要求1所述的一种海底管道风险评估方法,其特征在于,基于管段划分结果及指标层的评价指标客观权重,采用VIKOR方法,计算不同准则层下各管段利益比率值并按由大到小的顺序进行排序,得到不同准则层下各管段风险管控重要度排序结果的过程,具体如下:

根据管段划分结果,构建管段决策矩阵;

根据管段决策矩阵,定义各指标层的正负理想解;

根据各指标层的正负理想解及指标层的评价指标客观权重,计算各指标层的群体效用值及个体遗憾度;

根据各指标层的群体效用值及个体遗憾度,计算不同准则层下各管段利益比率值,并按由大到小的顺序进行排序,得到不同准则层下各管段风险管控重要度排序结果。

7.根据权利要求6所述的一种海底管道风险评估方法,其特征在于,各指标层的群体效用值及个体遗憾值的计算公式具体如下:+ + ‑

Ri=jmax[wj(fj‑fij)/(fj‑fj)j=1,2,...,n]+

其中,wj为第j个指标层的评价指标客观权重,Si为群体效用值,Ri为个体遗憾度,fj 为‑

第j个指标层的正理想解,fj为第j个指标层的负理想解,fij为管段决策矩阵中任意指标层的值,n为指标层的总个数。

8.根据权利要求1所述的一种海底管道风险评估方法,其特征在于,基于管段划分结果及准则层的评价指标客观权重,采用VIKOR方法,计算分层模型下各管段利益比率值并按由大到小的顺序进行排序,得到分层模型下各管段风险管控重要度排序结果的过程,具体如下:

根据管段划分结果,构建管段决策矩阵;

根据管段决策矩阵,定义各准则层的正负理想解;

根据各准则层的正负理想解及准则层的评价指标客观权重,计算各准则层的群体效用值及个体遗憾度;

根据各准则层的群体效用值及个体遗憾度,计算不同准则层下各管段利益比率值,并按由大到小的顺序进行排序,得到不同准则层下各管段风险管控重要度排序结果。

9.一种海底管道风险评估系统,其特征在于,包括风险评价指标模块、管段划分模块、权重模块、重要度计算模块及结果输出模块;

风险评价指标模块,用于辨识待评估海底油气管道失效风险因素,构建风险评价指标分层模型;其中,风险评价指标分层模型包括若干准则层,每个准则层包括若干指标层;

管段划分模块,用于对待评估海底油气管道进行管段递进划分,得到管段划分结果;

权重模块,用于利用CRITIC方法,计算准则层的评价指标客观权重及指标层的评价指标客观权重;

重要度计算模块,用于基于管段划分结果及指标层的评价指标客观权重,采用VIKOR方法,计算不同准则层下各管段利益比率值并按由大到小的顺序进行排序,得到不同准则层下各管段风险管控重要度排序结果;基于管段划分结果及准则层的评价指标客观权重,采用VIKOR方法,计算分层模型下各管段利益比率值并按由大到小的顺序进行排序,得到分层模型下各管段风险管控重要度排序结果;

结果输出模块,用于根据不同准则层下各管段风险管控重要度排序结果和分层模型下各管段风险管控重要度排序结果,得到所述的海底管道风险评估结果。

10.一种海底管道风险评估设备,其特征在于,包括存储器、处理器及存储在所述存储器中并可在所述处理器中运行的可执行指令;所述处理器执行所述可执行指令时实现如权利要求1‑8任一项所述的方法。