欢迎来到知嘟嘟! 联系电话:13336804447 卖家免费入驻,海量在线求购! 卖家免费入驻,海量在线求购!
知嘟嘟
我要发布
联系电话:13336804447
知嘟嘟经纪人
收藏
专利号: 2021105130919
申请人: 兰顿(杭州)品牌管理有限公司
专利类型:发明专利
专利状态:已下证
专利领域: 一般喷射或雾化;对表面涂覆液体或其他流体的一般方法〔2〕
更新日期:2025-12-24
缴费截止日期: 暂无
价格&联系人
年费信息
委托购买

摘要:

权利要求书:

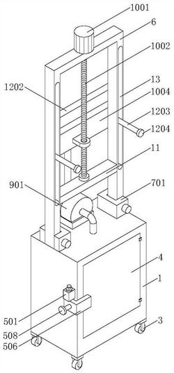
1.一种除甲醛用智能光触媒喷涂设备,包括储存箱(1),其特征在于,所述储存箱(1)的内部设置有储存筒(2),所述储存箱(1)的底部固定连接有电动轮(3),所述储存箱(1)的前侧活动连接有箱门(4),所述储存箱(1)左侧的前侧设置有与箱门(4)配合使用的固定组件(5),所述储存箱(1)的顶部设置有固定架(6),所述储存箱(1)顶部的两侧均设置有与固定架(6)配合使用的定位组件(7),所述固定架(6)的前侧开设有与定位组件(7)配合使用的定位槽(8),所述储存箱(1)的顶部设置有喷涂组件(9),所述固定架(6)的内部设置有调节组件(10),所述固定架(6)内部的底部设置有与调节组件(10)配合使用的定位板(11),所述固定架(6)的后侧设置有与喷涂组件(9)配合使用的伸缩组件(12),所述固定架(6)的前侧开设有与伸缩组件(12)配合使用的滑槽(13)。

2.根据权利要求1所述—种除甲醛用智能光触媒喷涂设备,其特征在于:所述固定组件(5)包括固定套(501),所述固定套(501)的顶部设置有拉环(502),所述拉环(502)的底部固定连接有固定卡杆(503),所述固定卡杆(503)的底部贯穿至固定套(501)的内腔并依次套设有固定弹簧(504)和限位板(505),所述固定套(501)的底部设置有与箱门(4)配合使用的卡板(506),所述卡板(506)的顶部开设有与固定卡杆(503)配合使用的卡槽(507),所述固定卡杆(503)的底部贯穿固定套(501)并延伸至卡槽(507)的内腔,所述卡板(506)的左侧固定连接有握把(508),拉环(502)带动固定卡杆(503)移动,固定卡杆(503)进入卡槽(507)的内腔并对卡板(506)的位置进行固定,通过固定组件(5)的设置,可以对箱门(4)的位置进行固定。

3.根据权利要求2所述—种除甲醛用智能光触媒喷涂设备,其特征在于:所述定位组件(7)包括定位套(701),所述定位套(701)的底部与储存箱(1)固定连接,所述定位套(701)的内壁与固定架(6)的表面接触,所述定位套(701)的前侧设置有旋钮(702),所述旋钮(702)的后侧固定连接有螺栓(703),所述定位套(701)的前侧开设有与螺栓(703)配合使用的螺纹孔(704),所述螺栓(703)的后侧穿过螺纹孔(704)并延伸至定位槽(8)的内腔,所述螺栓(703)靠近螺纹孔(704)内壁的一侧与螺纹孔(704)的内壁接触,所述螺栓(703)靠近螺纹孔(704)内壁的一侧与螺纹孔(704)的内壁通过螺纹活动连接,所述螺栓(703)靠近定位槽(8)内壁的一侧与定位槽(8)的内壁接触,旋钮(702)带动螺栓(703)在螺纹孔(704)的内腔转动并进入定位槽(8)的内腔,可以对固定架(6)的位置进行固定。

4.根据权利要求3所述—种除甲醛用智能光触媒喷涂设备,其特征在于:所述喷涂组件(9)包括空压机(901),所述空压机(901)的前侧连通有与储存筒(2)配合使用的输送管(902),所述输送管(902)远离空压机(901)的一侧贯穿储存箱(1)并延伸至储存筒(2)的内腔,所述输送管(902)远离空压机(901)的一侧连通有重力环吸头(903),所述空压机(901)的后侧连通有传输管(904),所述传输管(904)远离空压机(901)的一侧连通有与伸缩组件(12)配合使用的连接管(905),所述连接管(905)的后侧连通有喷头(906),所述喷头(906)的数量为若干个,且均匀分布于连接管(905)的后侧,所述输送管(902)和传输管(904)均为可伸缩形软管。

5.根据权利要求2所述—种除甲醛用智能光触媒喷涂设备,其特征在于:所述调节组件(10)包括电机(1001),所述电机(1001)的输出端贯穿至固定架(6)的内部并固定连接有与定位板(11)配合使用的螺纹杆(1002),所述螺纹杆(1002)的表面套设有调节套(1003),所述螺纹杆(1002)的底部与定位板(11)的顶部活动连接,所述调节套(1003)的后侧固定连接有连接板(1004),所述连接板(1004)前侧的两侧均开设有与伸缩组件(12)配合使用的通口(1005),纹杆(1002)在螺纹的作用下带动调节套(1003)进行移动,调节套(1003)带动连接板(1004)进行移动,通过调节组件(10)的设置,可以方便对喷涂位置进行调节。

6.根据权利要求4和5中任一项所述—种除甲醛用智能光触媒喷涂设备,其特征在于:所述伸缩组件(12)包括电动伸缩杆(1201),所述电动伸缩杆(1201)的后侧固定连接有与连接管(905)配合使用的活动板(1202),所述活动板(1202)前侧的两侧均固定连接有与通口(1005)和滑槽(13)配合使用的稳定杆(1203),所述稳定杆(1203)的前侧依次穿过通口(1005)和滑槽(13)并固定连接有限位块(1204)。

7.根据权利要求3所述—种除甲醛用智能光触媒喷涂设备,其特征在于:所述储存筒(2)靠近储存箱(1)内壁的一侧与储存箱(1)的内壁接触,所述储存筒(2)前侧的顶部固定连接有把手(14),所述电动轮(3)的数量为四个,且均匀分布于储存箱(1)的底部,所述箱门(4)前侧右侧的两侧与储存箱(1)的连接处均通过合页活动连接,所述固定架(6)为L形,所述定位板(11)的两侧均与固定架(6)的内壁固定连接。

8.根据权利要求7所述—种除甲醛用智能光触媒喷涂设备,其特征在于:所述固定套(501)的右侧与储存箱(1)固定连接,所述固定套(501)的顶部和底部均开设有与固定卡杆(503)配合使用的通孔(15),所述固定卡杆(503)的表面与固定弹簧(504)的内壁接触,所述固定卡杆(503)的表面与限位板(505)的内壁固定连接,所述固定卡杆(503)靠近卡槽(507)内壁的一侧与卡槽(507)的内壁接触,所述卡板(506)为L形,所述卡板(506)靠近箱门(4)的一侧与箱门(4)固定连接。

9.根据权利要求8所述—种除甲醛用智能光触媒喷涂设备,其特征在于:所述电机(1001)的底部与固定架(6)的顶部固定连接,所述螺纹杆(1002)的表面与调节套(1003)的内壁通过螺纹活动连接,所述螺纹杆(1002)的底部套设有轴承座(16),所述轴承座(16)的底部与定位板(11)固定连接。

10.根据权利要求6所述—种除甲醛用智能光触媒喷涂设备,其特征在于:所述电动伸缩杆(1201)的前侧与连接板(1004)固定连接,所述活动板(1202)的后侧与连接管(905)活动连接,所述稳定杆(1203)靠近通口(1005)和滑槽(13)内壁的一侧与分别与通口(1005)和滑槽(13)的内壁接触。