欢迎来到知嘟嘟! 联系电话:13336804447 卖家免费入驻,海量在线求购! 卖家免费入驻,海量在线求购!
知嘟嘟
我要发布
联系电话:13336804447
知嘟嘟经纪人
收藏
专利号: 2021104447118
申请人: 张海伟
专利类型:发明专利
专利状态:授权未缴费
专利领域: 一般车辆
更新日期:2024-05-06
缴费截止日期: 暂无
价格&联系人
年费信息
委托购买

摘要:

权利要求书:

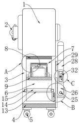
1.一种多功能新能源充电桩,包括机体(1),其特征在于,所述机体(1)的侧面通过电源线电连接有充电头(2),所述机体(1)的下表面固定连接有固定柱(3),所述固定柱(3)的下表面固定连接有支撑板(4),所述支撑板(4)的下表面固定连接有带刹车万向轮(5),所述固定柱(3)的正面开设有收纳槽(6),所述收纳槽(6)的内顶壁开设有放置槽(7),所述放置槽(7)的内底壁嵌设有滤网板(8),所述放置槽(7)的内壁固定连接有固定板(9),所述固定板(9)的上表面分别固定连接有风机(10)和保护罩(11),所述保护罩(11)的上表面嵌设有过滤网(12),所述收纳槽(6)的内壁滑动连接有托板(13),所述托板(13)的上表面开设有凹槽(14),所述托板(13)的两侧均固定连接有滑块(15),所述固定柱(3)的正面通过合页转动连接有柜门(16),所述柜门(16)的正面嵌设有透明板(17)。2.根据权利要求1所述的一种多功能新能源充电桩,其特征在于,所述固定柱(3)的侧面开设有卡槽(18),所述卡槽(18)的内壁滑动连接有限位块(19),所述限位块(19)的上表面固定连接有压板(20),所述压板(20)的上表面固定连接有强力弹簧(21),所述限位块(19)的侧面固定连接有稳定板(22),且稳定板(22)的一侧与固定柱(3)的侧面搭接,所述稳定板(22)的侧面固定连接有固定块(23),所述固定块(23)的侧面开设有直角槽(24),所述直角槽(24)的内前壁固定连接有阻尼转轴(25),所述阻尼转轴(25)的表面转动连接有固定杆(26),所述固定杆(26)的顶端插接有插接杆(27),所述插接杆(27)的顶端固定连接有把手(28),所述把手(28)的侧面固定连接有磁石板(29),所述插接杆(27)的侧面开设有活动槽(30),所述活动槽(30)的内壁固定连接有复位弹簧(31),所述复位弹簧(31)的一端固定连接有卡板(32),所述卡板(32)的下表面转动连接有定位转轴(33)。3.根据权利要求1所述的一种多功能新能源充电桩,其特征在于,所述支撑板(4)的下表面四角均固定连接有带刹车万向轮(5),所述支撑板(4)的两侧与固定柱(3)的两侧在同一垂直面,且固定柱(3)为正四棱柱。4.根据权利要求1所述的一种多功能新能源充电桩,其特征在于,所述固定柱(3)正面的收纳槽(6)和放置槽(7)呈L型,且固定柱(3)的上表面和机体(1)的下表面均开设有与滤网板(8)相适配的孔。5.根据权利要求1所述的一种多功能新能源充电桩,其特征在于,所述风机(10)位于保护罩(11)的内部,且保护罩(11)的上表面和两侧均嵌设有过滤网(12)。6.根据权利要求1所述的一种多功能新能源充电桩,其特征在于,所述固定柱(3)正面的收纳槽(6)内壁两侧均开设有与托板(13)两侧滑块(15)纵向移动的滑槽,且托板(13)的正面与柜门(16)的背面搭接,所述柜门(16)正面的透明板(17)材质为透明PC板。7.根据权利要求2所述的一种多功能新能源充电桩,其特征在于,所述固定柱(3)侧面的卡槽(18)内顶壁开设有与强力弹簧(21)和压板(20)垂直移动的槽,且强力弹簧(21)的两端均固定连接有压板(20),所述强力弹簧(21)的顶端通过压板(20)与固定柱(3)固定连接。8.根据权利要求2所述的一种多功能新能源充电桩,其特征在于,所述固定杆(26)的顶端开设有与插接杆(27)相适配的圆槽,所述固定杆(26)的顶端与把手(28)的下表面搭接,且圆槽的内壁开设有与卡板(32)一侧相适配的三角卡槽。9.根据权利要求2所述的一种多功能新能源充电桩,其特征在于,所述插接杆(27)侧面的活动槽(30)内壁和卡板(32)的侧面开设有与复位弹簧(31)相适配的槽,所述定位转轴(33)的下表面与活动槽(30)的内底壁固定连接。