欢迎来到知嘟嘟! 联系电话:13336804447 卖家免费入驻,海量在线求购! 卖家免费入驻,海量在线求购!
知嘟嘟
我要发布
联系电话:13336804447
知嘟嘟经纪人
收藏
专利号: 2021101508590
申请人: 台州学院
专利类型:发明专利
专利状态:已下证
专利领域: 给水;排水
更新日期:2025-12-10
缴费截止日期: 暂无
价格&联系人
年费信息
委托购买

摘要:

权利要求书:

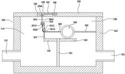
1.一种露天清洗场地的雨污水收集井,包括腔体、传动机构和进水软管,所述腔体中间由隔板分隔成污水室和雨水室,污水室的边壁上设置有污水管,雨水室的边壁上设置有雨水管,隔板顶端两侧边分别固定设置有水平的左支撑块和右支撑块,腔体上端设置有收集井的井盖,进水软管连接到设置于腔体边壁上的集水管上,进水软管置于右支撑块上,其特征在于:井盖上设置有通孔,通孔的左右两边从井盖上面往下设置有卡槽,通孔的前边连接从井盖上面往下设置的“T”形凹槽的下端槽,所述传动机构包括支撑板、拉绳、钩杆、拉钩及弹性部件,支撑板竖直放置且下端固定于左支撑块上的远离隔板的一端上,支撑板中间开设有孔洞,孔洞内设有滑轮,支撑板上部固定两根有一定间隙的“L”形支撑杆,支撑杆与支撑板之间形成开口向上的卡槽,钩杆的中间部分有一圈向内凹陷的凹槽,钩杆两端分别置于支撑杆上,拉绳的一端系于钩杆的凹槽上,拉绳穿过支撑杆之间的间隙,拉绳绕过滑轮底部并穿过孔洞,拉绳的另一端系于进水软管上,拉钩的竖杆下端设置有弯钩,竖杆穿过支撑杆的间隙,弯钩置于钩杆凹槽部分的正下方且具有一定距离,竖杆上端固定有为圆柱体的卡块的侧面,卡块的两端置于井盖上的卡槽内,卡块的直径小于通孔的宽度,卡块的长度小于通孔的长度,卡块尺寸小于“T”形凹槽的上端槽,竖杆尺寸能够使其放置于“T”形凹槽的下端槽内,弹性部件一端置于进水软管上,弹性部件另一端置于雨水室内与隔板相对的边壁上。

2.根据权利要求1中所述的一种露天清洗场地的雨污水收集井,其特征在于:所述弹性部件为弹簧。

3.根据权利要求1中所述的一种露天清洗场地的雨污水收集井,其特征在于:所述进水软管出水口设置有向下的弯头。