欢迎来到知嘟嘟! 联系电话:13336804447 卖家免费入驻,海量在线求购! 卖家免费入驻,海量在线求购!
知嘟嘟
我要发布
联系电话:13336804447
知嘟嘟经纪人
收藏
专利号: 2021100592818
申请人: 烟台南山学院
专利类型:发明专利
专利状态:已下证
专利领域: 输送;包装;贮存;搬运薄的或细丝状材料
更新日期:2026-04-06
缴费截止日期: 暂无
价格&联系人
年费信息
委托购买

摘要:

权利要求书:

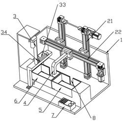
1.一种发票凭证自动粘贴装置,其特征在于,包括设备箱体,设备箱体内设置有用于运送发票的传动机构和用于粘贴发票的压紧机构,所述传动机构上安装有真空发生器,真空发生器的下方设置有进发票凭证储存盒和出发票凭证储存盒,传动机构和真空发生器配合将发票由进发票凭证储存盒运送至出发票凭证储存盒,然后通过压紧机构将发票自动粘贴压紧,所述设备箱体的前方设置有执行装置运动逻辑的控制器。

2.根据权利要求1所述的一种发票凭证自动粘贴装置,其特征在于,所述压紧机构包括门型支架,门型支架的横梁上设置有第一电动气缸,第一电动气缸的电动推杆穿过横梁向下设置,所述横梁上靠近第一电动气缸一侧的位置开设有放置胶水管的V型槽,V型槽的另一侧开设有沿横梁长度方向的长方形槽,长方形槽内安装有第二电动气缸,所述第二电动气缸靠近V型槽的一端固定有U型板,U型板随着第二电动气缸的伸缩对V型槽内的胶水管挤压使胶水滴下,所述第一电动气缸电动推杆的底端固定有压板,压板上开设有圆通孔,胶水管内滴下的胶水穿过圆通孔恰好落在发票位置。

3.根据权利要求2所述的一种发票凭证自动粘贴装置,其特征在于,所述进发票凭证储存盒和出发票凭证储存盒设置在设备箱体的两个开槽内,进、出发票凭证储存盒的侧壁上分别开设有与真空发生器的吸头相适配的定位槽,所述出发票凭证储存盒的底部设置有与压板相配合的压紧顶板,压紧顶板包括上部的弹簧顶板和下部的压紧弹簧,弹簧顶板安装在出发票凭证储存盒底壁开设的放置槽内,压紧弹簧的底部固定在设备箱体上。

4.根据权利要求3所述的一种发票凭证自动粘贴装置,其特征在于,所述传动机构包括Y方向传动机构和X方向传动机构,Y方向传动机构固定在设备箱体上,X方向传动机构固定在Y方向传动机构上。

5.根据权利要求4所述的一种发票凭证自动粘贴装置,其特征在于,所述Y方向传动机构包括Y轴伺服电机、Y轴滑轨、Y轴滑块、Y轴限位开关及Y轴固定组件,所述Y轴伺服电机转动时Y轴滑块沿Y轴滑轨移动,且当移动至Y轴限位开关处时停止运动,所述Y轴滑轨设置有两个,两个Y轴滑轨之间通过连接杆连接且通过联轴器实现两个Y轴滑轨同步转动。

6.根据权利要求5所述的一种发票凭证自动粘贴装置,其特征在于,所述Y轴限位开关包括Y轴上限位开关和Y轴下限位开关,Y轴上限位开关设置在真空发生器的底端吸头高于进、出发票凭证储存盒的位置,Y轴下限位开关设置在真空发生器的底端吸头距离进、出发票凭证储存盒底部略大于1cm的位置。

7.根据权利要求4所述的一种发票凭证自动粘贴装置,其特征在于,所述X方向传动机构包括X轴伺服电机、X轴滑轨、X轴滑块、X轴限位开关及X轴固定组件,所述X轴滑轨沿X轴方向固定在Y轴滑块上,X轴伺服电机转动时X轴滑块沿X轴滑轨移动,且当移动至X轴限位开关处时停止运动,所述真空发生器固定在X轴滑块上。

8.根据权利要求7所述的一种发票凭证自动粘贴装置,其特征在于,所述X轴限位开关包括X轴进限位开关和X轴出限位开关,X轴进限位开关设置在真空发生器与进发票凭证储存盒的定位槽对齐的位置,X轴出限位开关设置在真空发生器与出发票凭证储存盒的定位槽对齐的位置。

9.一种发票凭证自动粘贴方法,应用于权利要求1至8任一项所述的发票凭证自动粘贴装置,其特征在于,所述方法包括以下步骤:S1、将整理好的发票放入进发票凭证储存盒中,设置待粘贴的发票张数;

S2、打开开关,Y方向传动机构、X方向传动机构和真空发生器配合,将发票由进发票凭证储存盒运送至出发票凭证储存盒;

S3、压紧机构的第二电动气缸伸出,U型板随着第二电动气缸的伸出对胶水管进行挤压使胶水滴下,滴下的胶水穿过压板的圆通孔落在发票的前端,然后重复步骤S2,将下一张发票运送至出发票凭证储存盒;

S4、压紧机构的第一电动气缸工作,电动推杆伸出,电动推杆底端的压板向下按压发票直至弹簧顶板下降,发票在压板的压力下粘贴固定;

S5、重复步骤S3‑S4,直至全部发票粘接完毕。

10.根据权利要求9所述的一种发票凭证自动粘贴方法,其特征在于,所述步骤S2中,将发票由进发票凭证储存盒运送至出发票凭证储存盒,包括下述步骤:S21、Y轴伺服电机工作,Y轴滑块沿Y轴滑轨移动且当移动至Y轴上限位开关处时停止运动,然后X轴伺服电机工作,X轴滑块沿X轴滑轨移动且当移动至X轴进限位开关处时停止运动,接下来Y轴伺服电机工作,Y轴滑块沿Y轴滑轨移动且当移动至Y轴下限位开关处时停止运动;

S22、真空发生器工作,真空发生器的吸头处产生吸力将进发票凭证储存盒最上方的发票吸附抓取;

S23、Y轴伺服电机工作,Y轴滑块沿Y轴滑轨移动且当移动至Y轴上限位开关处时停止运动,然后X轴伺服电机工作,X轴滑块沿X轴滑轨移动且当移动至X轴出限位开关处时停止运动,接下来Y轴伺服电机工作,Y轴滑块沿Y轴滑轨移动且当移动至Y轴下限位开关处时停止运动;

S24、真空发生器停止工作,吸附的发票落至出发票凭证储存盒内。