欢迎来到知嘟嘟! 联系电话:13095918853 卖家免费入驻,海量在线求购! 卖家免费入驻,海量在线求购!
知嘟嘟
我要发布
联系电话:13095918853
知嘟嘟经纪人
收藏
专利号: 2020231942679
申请人: 苏州观塘电机科技有限公司
专利类型:实用新型
专利状态:已下证
专利领域: 测量;测试
更新日期:2024-07-23
缴费截止日期: 暂无
价格&联系人
年费信息
委托购买

摘要:

权利要求书:

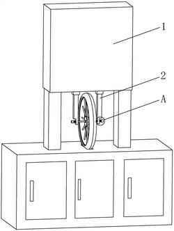
1.一种电动自行车马达疲劳测试装置,包括测试机本体(1)和固定连接在其内的支撑部,其特征在于:所述支撑部包括对称设置的两根支撑臂(2),所述支撑臂(2)的下端开设有供定轴伸出的通孔一(3),所述支撑臂(2)远离相邻支撑臂(2)的一侧设有固定组件,所述固定组件包括收紧体(4)和套设在收紧体(4)外侧的管体(5),所述收紧体(4)套设在定轴的端部,且所述收紧体(4)与支撑臂(2)固定连接,所述收紧体(4)的截面面积自外向内逐渐增大,所述管体(5)的截面面积介于收紧体(4)的最大截面面积和最小截面面积之间。

2.根据权利要求1所述的一种电动自行车马达疲劳测试装置,其特征在于:所述收紧体(4)包括中心板(41)和分别与中心板(41)的周侧壁转动连接的若干块收紧板(42),所述收紧板(42)的外壁上开设有外螺纹,所述管体(5)的内周壁上开设有与其螺纹连接的内螺纹。

3.根据权利要求2所述的一种电动自行车马达疲劳测试装置,其特征在于:所述收紧板(42)的内壁上通过弹性件(44)固定连接有压板(43)。

4.根据权利要求2所述的一种电动自行车马达疲劳测试装置,其特征在于:所述中心板(41)呈圆盘形,且其外周壁上固定连接有若干个凸起一(411),所述凸起一(411)的两端均固定连接有转轴一(412),所述收紧板(42)截面面积小的一端开设有用于容纳凸起一(411)的凹槽一,所述凹槽一的侧壁上开设有供转轴一(412)伸入的旋转孔一。

5.根据权利要求3所述的一种电动自行车马达疲劳测试装置,其特征在于:所述中心板(41)上开设有供定轴伸出的通孔二(413),所述压板(43)的一端与通孔二(413)的周侧壁转动连接。

6.根据权利要求5所述的一种电动自行车马达疲劳测试装置,其特征在于:所述通孔二(413)的周侧壁上固定连接有若干个凸起二(414),所述凸起二(414)的两端均固定连接有转轴二(415),所述压板(43)的一端开设有用于容纳凸起二(414)的凹槽二,所述凹槽二的侧壁上开设有供转轴二(415)伸入的旋转孔二。

7.根据权利要求2所述的一种电动自行车马达疲劳测试装置,其特征在于:所述支撑臂(2)的底面向上凹陷形成连通至支撑臂(2)外侧的缺口(21),所述通孔一(3)贯穿缺口(21)的侧壁。

8.根据权利要求7所述的一种电动自行车马达疲劳测试装置,其特征在于:位于收紧体(4)底部的所述收紧板(42)与缺口(21)的侧壁固定连接。

9.根据权利要求3所述的一种电动自行车马达疲劳测试装置,其特征在于:所述收紧板(42)和压板(43)均呈弧型。